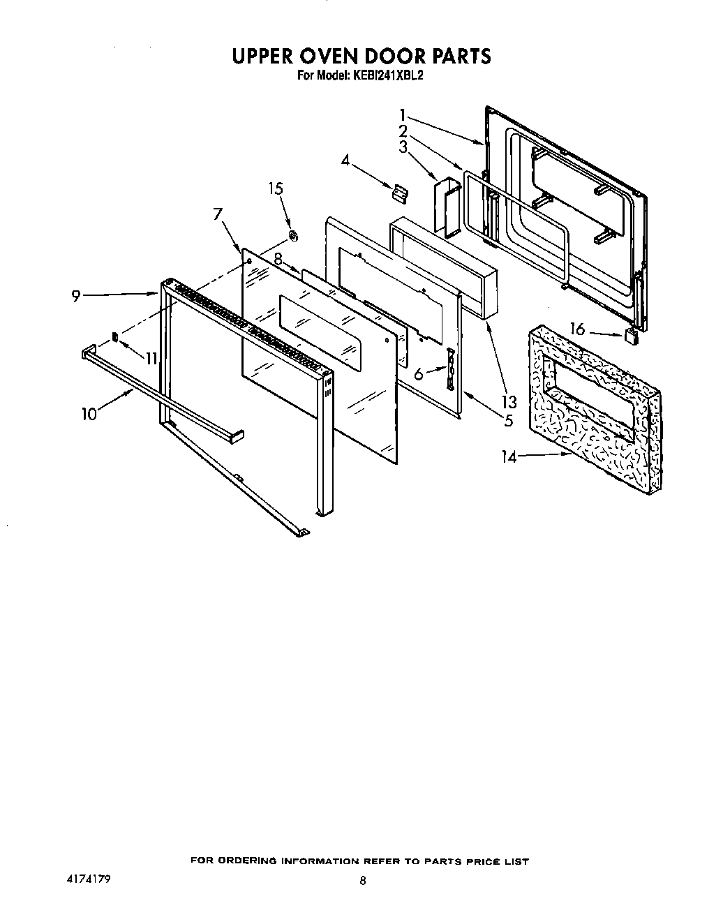
KEBI241XBL2 05 – UPPER OVEN DOORadmin2025-04-26T09:50:53+00:00KEBI241XBL2 05 – UPPER OVEN DOOR
Products
| Position | Product |
|---|
| 1 | Liner, Door |
| 1 | Screw, Black (2) |
| 1 | Vent, Lower Trim (Screw (2)) |
| 2 | Seal, Window |
| 3 | Spacer, Window |
| 4 | Latch, Strike |
| 5 | Retainer, Insulation |
| 6 | WP90767 Whirlpool Screw |
| 6 | Bracket, Glass Mtg. |
| 7 | Glass, Door |
| 8 | Glass, Reflective |
| 9 | Frame, Door |
| 10 | Handle, Door |
| 10 | Screw |
| 11 | Spacer (2) |
| 13 | Window Package |
| 14 | Insulation, Door |
| 15 | Bushing, Door Handle |
| 16 | Bumper, Door Glass |