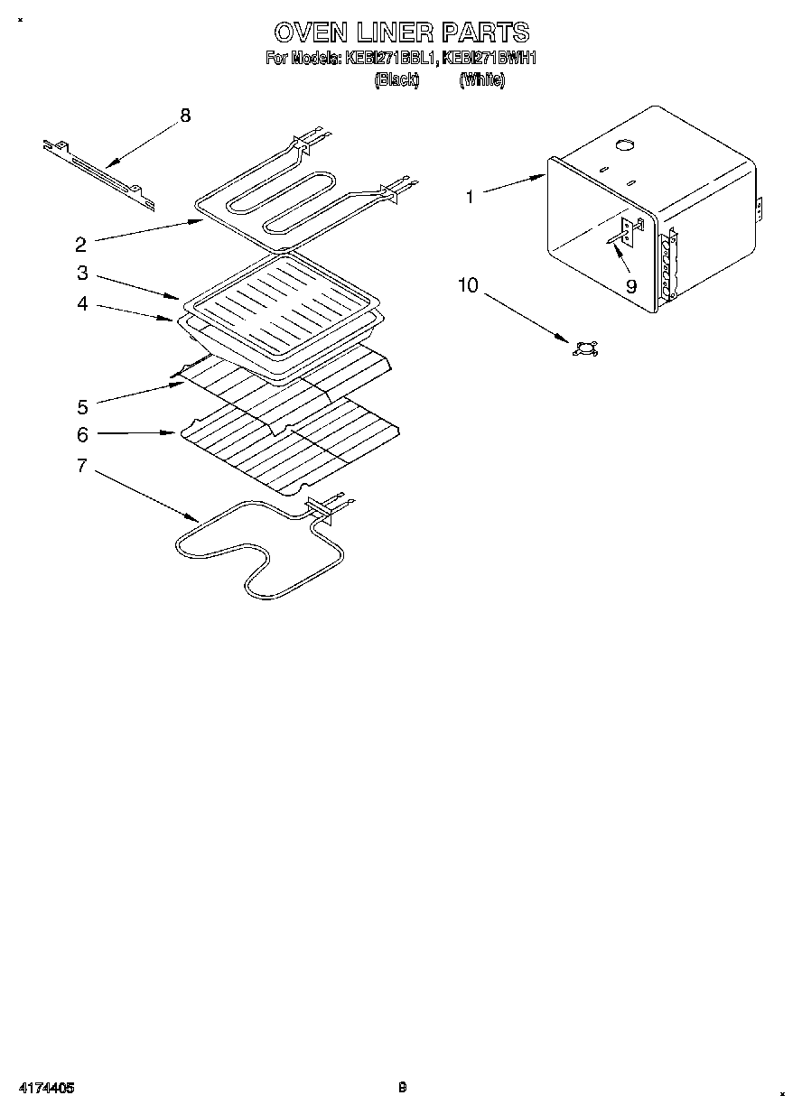
KEBI271BWH1 07 – OVEN LINERadmin2025-04-26T12:34:56+00:00KEBI271BWH1 07 – OVEN LINER ProductsPositionProduct1Liner, Oven2Element, Broil34396923 Whirlpool Broil Pan Set Gray Porcelain5Rack, Offset6Rack, Oven7WP661416 Whirlpool Bake Element8Bracket, Element9Sensor, Heat9Screw (2)10Thermostat