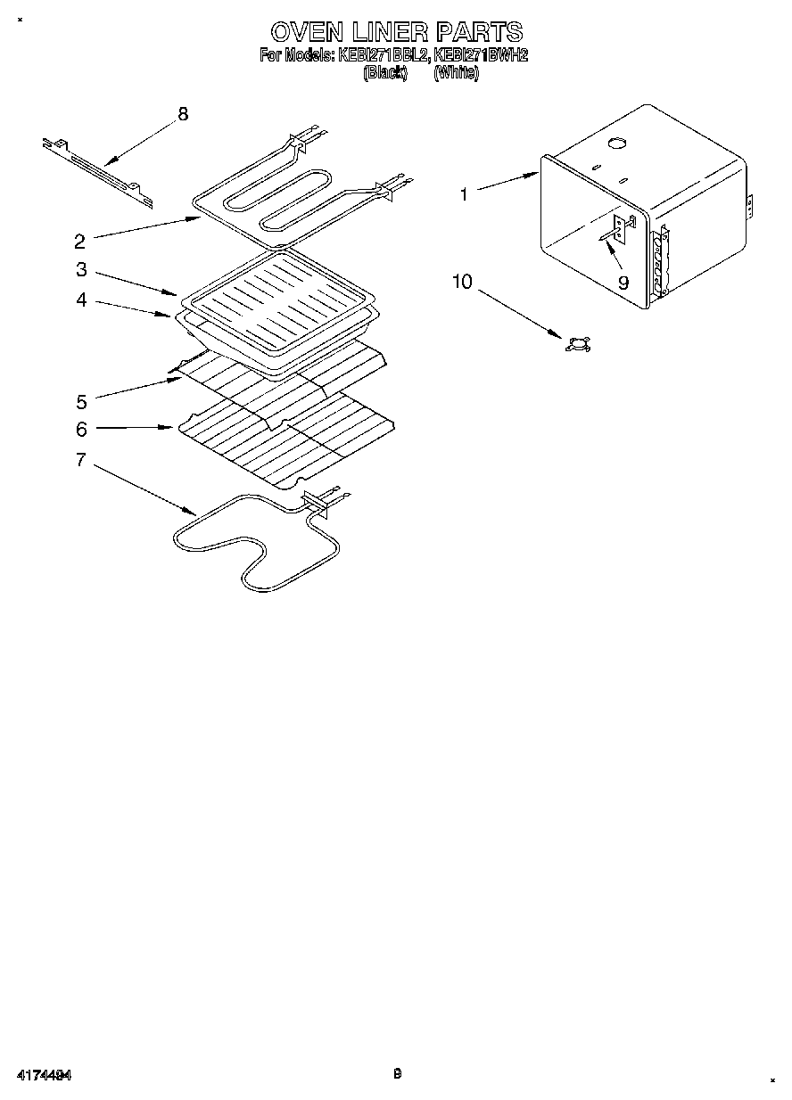
KEBI271BWH2 07 – OVEN LINER