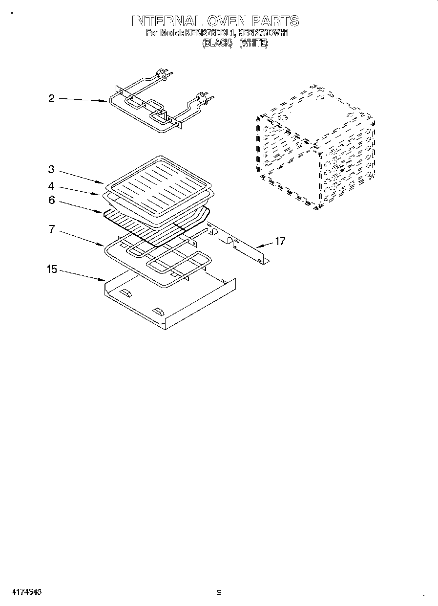
KEBI276DBL1 04 – INTERNAL OVENadmin2025-04-26T12:33:07+00:00KEBI276DBL1 04 – INTERNAL OVEN ProductsPositionProduct2WPW10207400 Whirlpool Broil Element2WP4449154 Whirlpool Screw34396923 Whirlpool Broil Pan Set Gray Porcelain6Rack, Oven74451175 Whirlpool Bake Element15Tray, Hidden Bake17WP4449809 Whirlpool Screw174450039 Whirlpool Oven Access Cover