KEBN100YBL0 01 – CONTROL PANEL, LITERATUREadmin2025-04-26T12:35:01+00:00KEBN100YBL0 01 – CONTROL PANEL, LITERATURE
Products
| Position | Product |
|---|
| Use & Care Guide |
| Installation Instructions |
| Wiring Diagram (Model KEBN100Y) |
| Guide, Quickset |
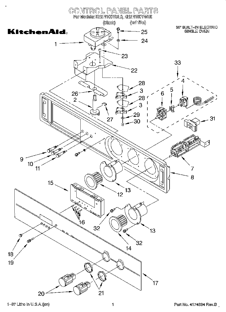
| 1 | Motor, Door Latch |
| 2 | Shaft, Door Locking |
| 3 | Microswitch |
| 5 | Bracket |
| 6 | Switch, Control |
| 7 | Switch, Main Control |
| 8 | Support, Components |
| 9 | Lamp, Red Pilot |
| 10 | Lamp, White Pilot |
| 11 | Lamp, Orange Pilot |
| 12 | Disc, Thermostat (Black Model) |
| 12 | Disc, Thermostat (White Model) |
| 13 | Knob Lighter |
| 14 | Disc, Switch (KEBN100YWH Model) |
| 14 | Disc, Switch (KEBN100YBL Model) |
| 15 | Timer, Electronic |
| 16 | Rods |
| 17 | Glass, Control Panel (KEBN100YBL Model) |
| 17 | Glass, Control Panel (KEBN100YWH Model) |
| 18 | Button, Push (4) (Black Model) |
| 18 | Button, Push (4) (White Model) |
| 19 | Knob, Generator (Black Model) |
| 19 | Knob, Generator (White Model) |
| 20 | Knob (White Model) |
| 20 | Knob (Black Model) |
| 21 | Ring, Glass Hole |
| 22 | Bracket, Motor |
| 23 | Screw |
| 24 | Washer |
| 25 | Screw |
| 26 | Bracket, Motor |
| 27 | Spring |
| 28 | Shield, Latch |
| 29 | Washer |
| 30 | Nut |
| 31 | Relay |
| 32 | Screw |
| 33 | Thermostat, Assembly |