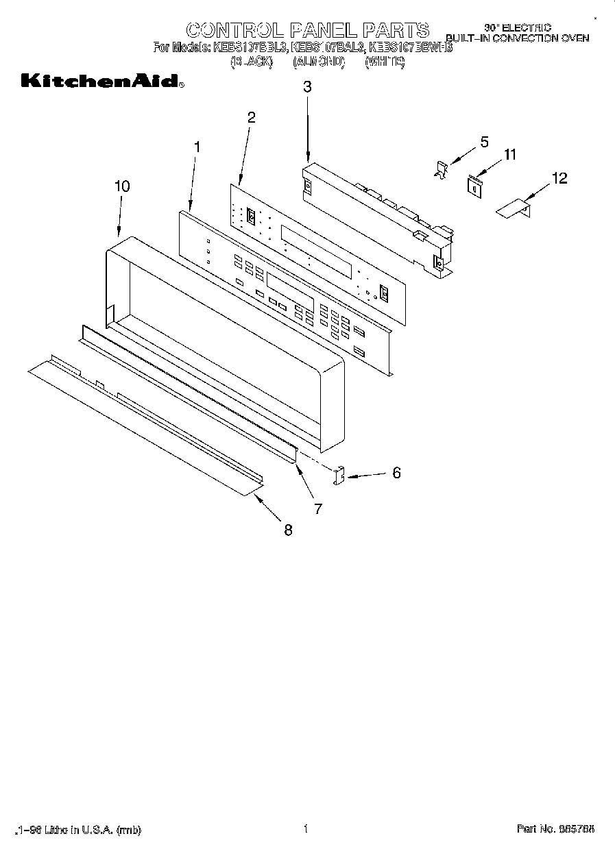
KEBS107BAL3 01 – CONTROL PANEL