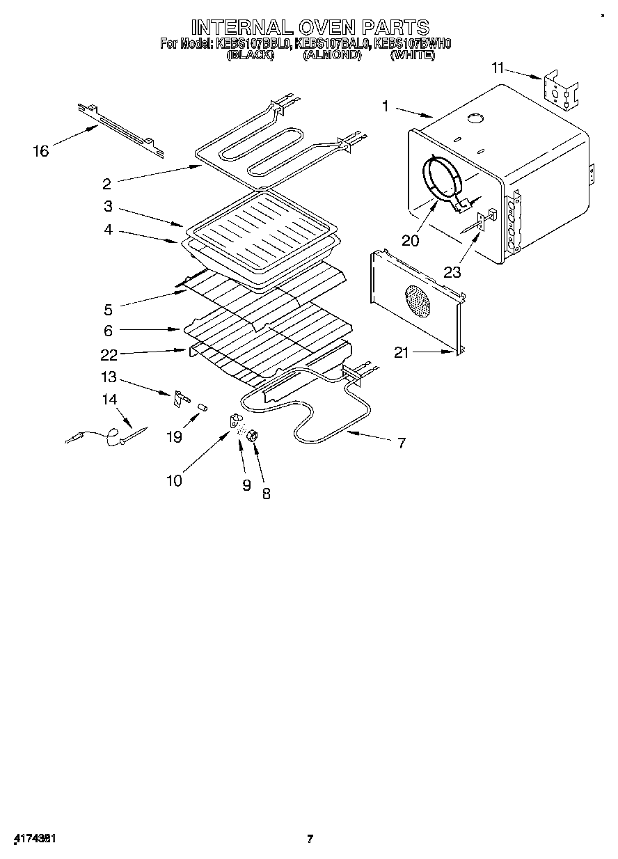
KEBS107BBL0 05 – INTERNAL OVEN