KEBS107BBL2 03 – VENT AND LATCHadmin2025-04-26T12:36:25+00:00KEBS107BBL2 03 – VENT AND LATCH
Products
| Position | Product |
|---|
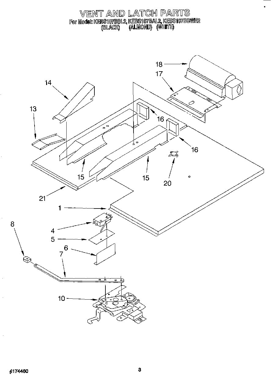
| 1 | Baffle, Vent |
| 4 | Switch, Latch |
| 5 | Screw |
| 5 | Insulator, Switch |
| 6 | Screw |
| 6 | Shield, Latch |
| 7 | Screw |
| 7 | Handle, Latch |
| 8 | Knob, Latch Handle |
| 8 | Screw |
| 10 | Latch Mechanism |
| 13 | Nozzle, Vent Bottom |
| 14 | Nozzle, Vent Top |
| 15 | Screw |
| 15 | Box, Vent (2) |
| 16 | End, Vent Box |
| 17 | Bracket, Mounting |
| 17 | WP3177991 Whirlpool Screw |
| 18 | Blower, fan |
| 20 | SPST Thermostat |
| 21 | Baffle, Vent Mtg. |
| 21 | WP488729 Whirlpool Refrigerator Door Screw |