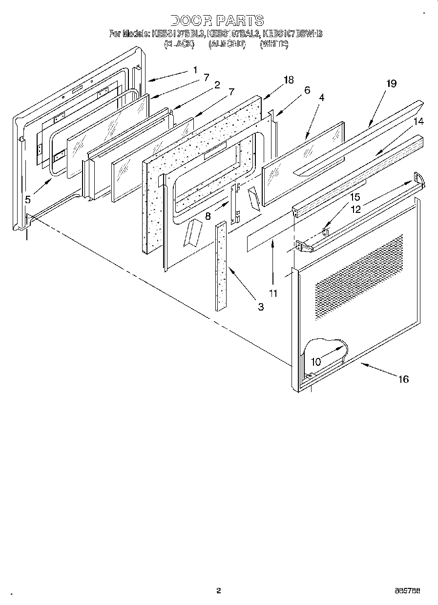
KEBS107BWH3 02 – DOOR