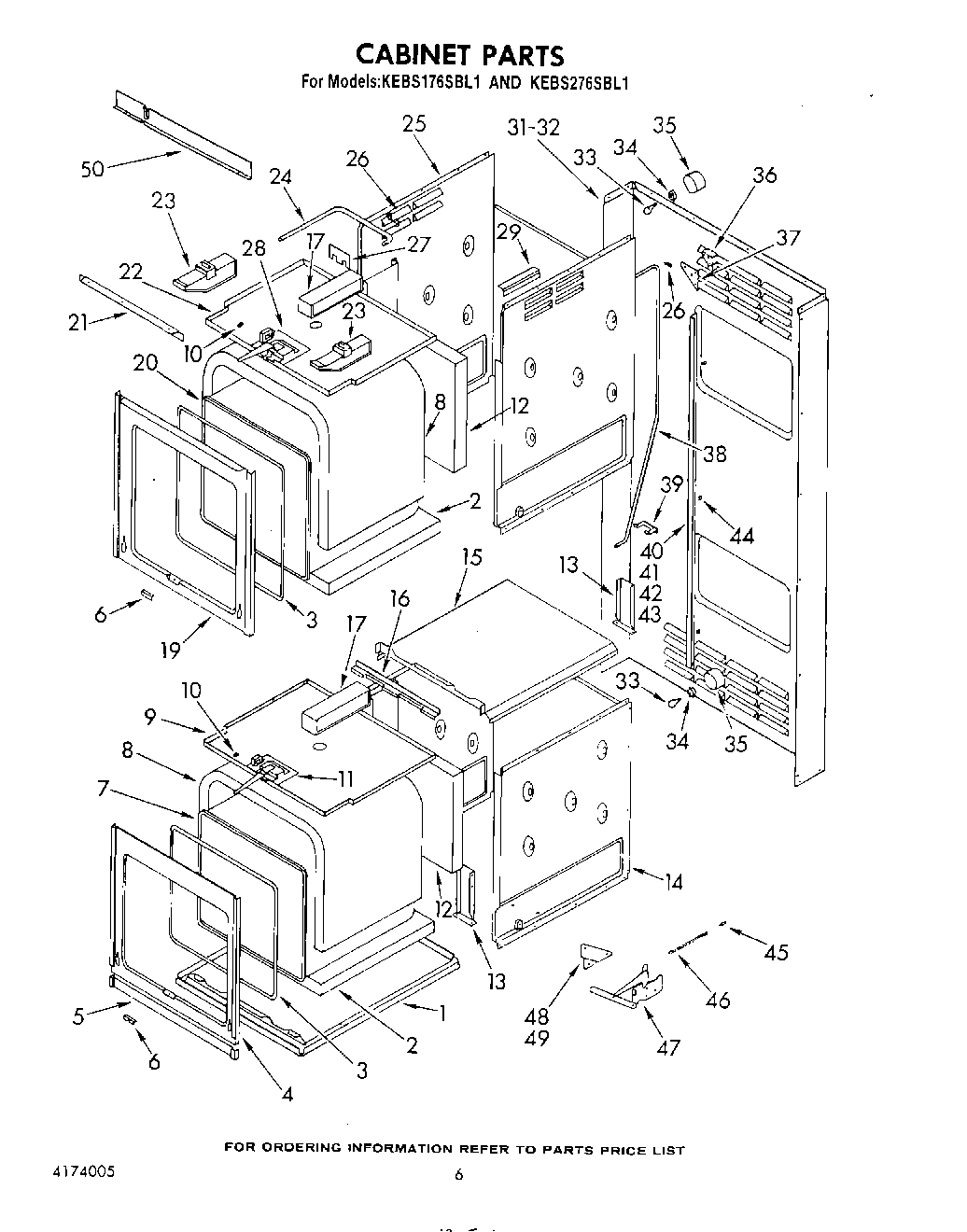
KEBS176SBL1 06 – CABINET