KEBS176WBL0 05 – OVEN DOOR, LIT/OPTIONALadmin2025-04-26T12:36:48+00:00KEBS176WBL0 05 – OVEN DOOR, LIT/OPTIONAL
Products
| Position | Product |
|---|
| Repair Parts List |
| Tech Sheet |
| Use & Care Guide |
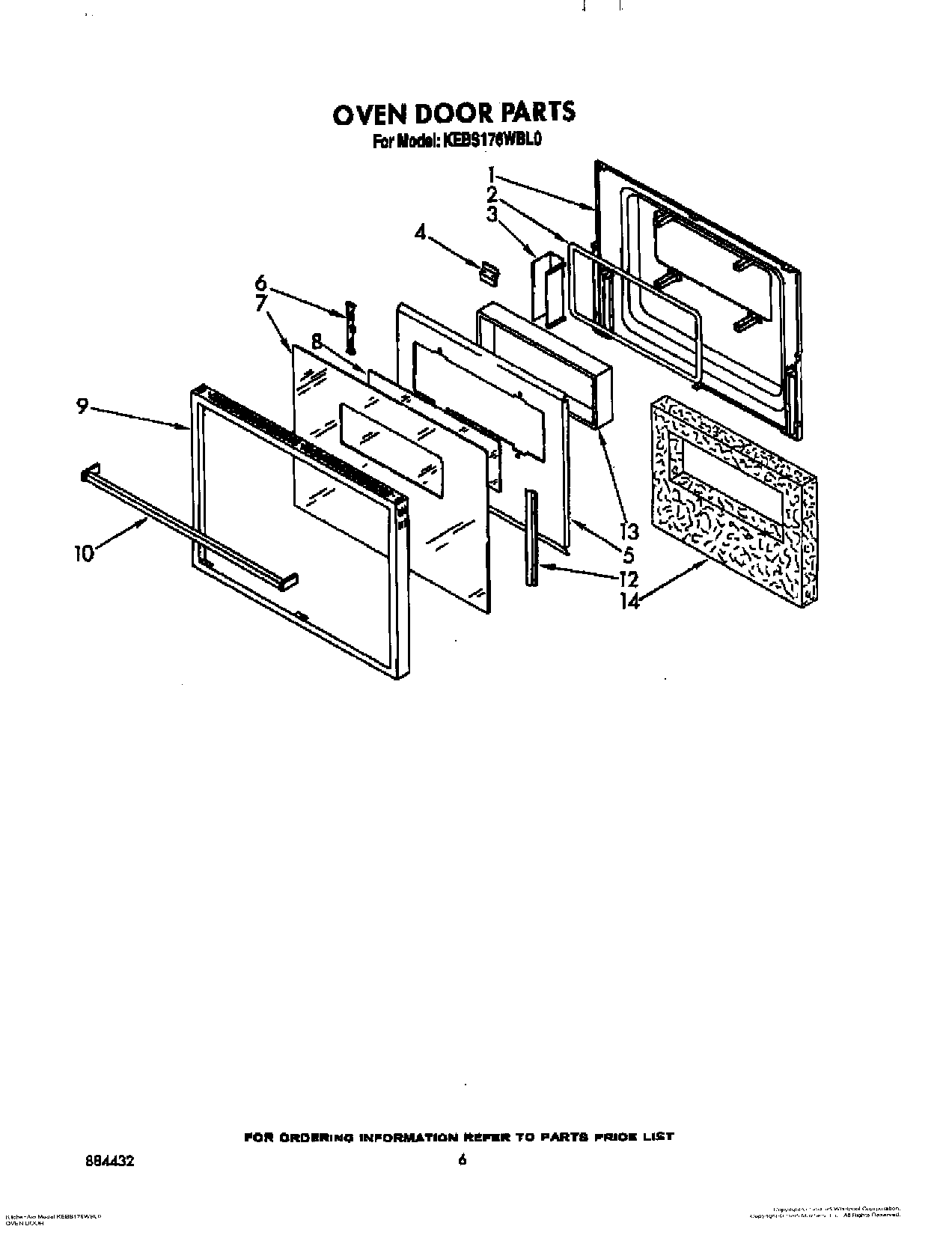
| 1 | Liner, Door |
| 2 | Seal, Window |
| 3 | Spacer, Window |
| 4 | Latch, Strike |
| 5 | Insulation, Retainer |
| 6 | WP90767 Whirlpool Screw |
| 6 | Bracket, Glass Mtg. |
| 7 | Glass, Door |
| 8 | Glass, Reflective |
| 9 | Frame, Door |
| 10 | Handle, Door (Screw) |
| 10 | Handle, Door |
| 12 | Screw, Black (2) |
| 12 | Retainer, Glass |
| 12 | Screw (6) |
| 12 | Vent, Lower Trim (Screw (2)) |
| 13 | Window Package |
| 14 | Insulation, Door |