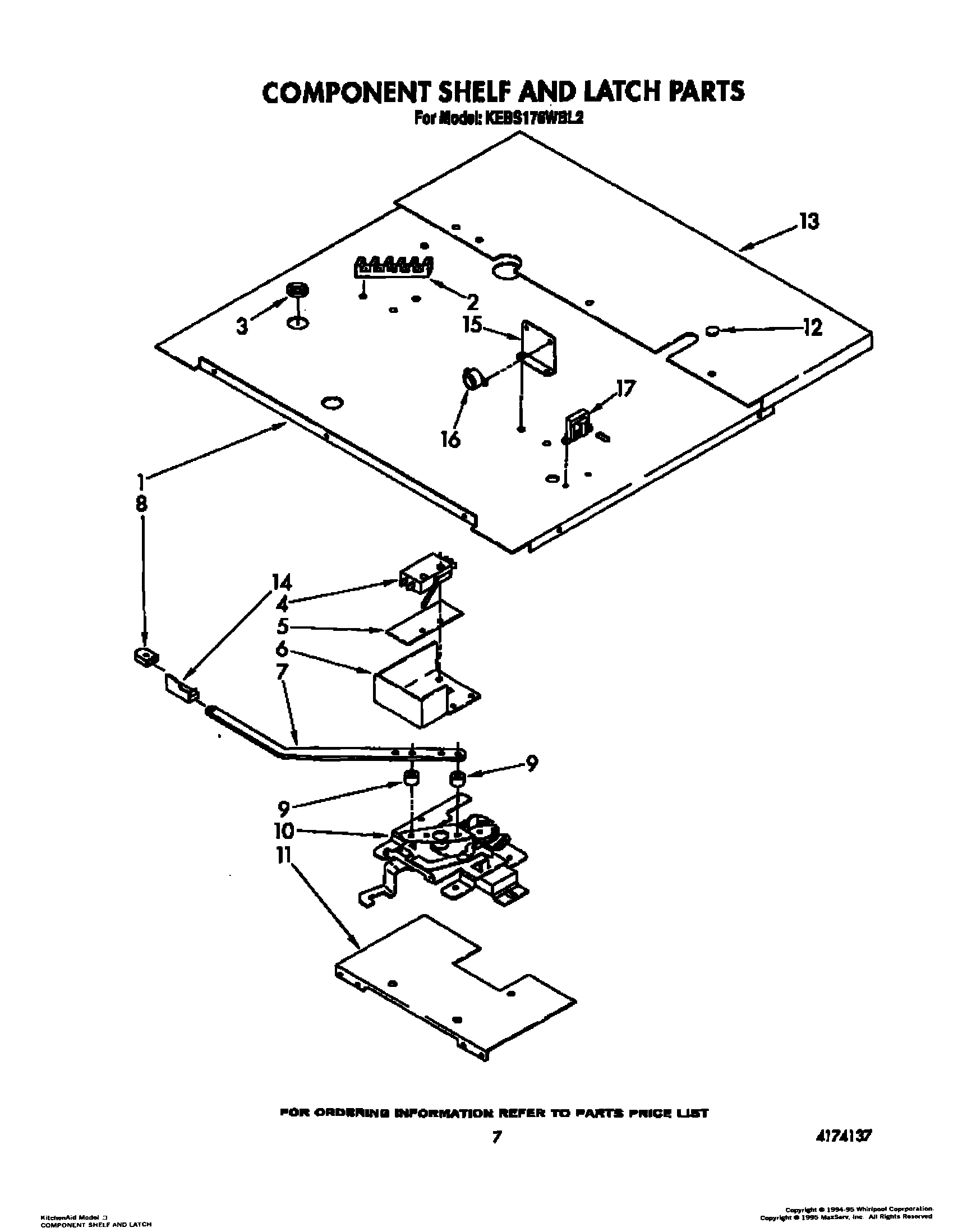
KEBS176WBL2 05 – COMPONENT SHELF AND LATCH