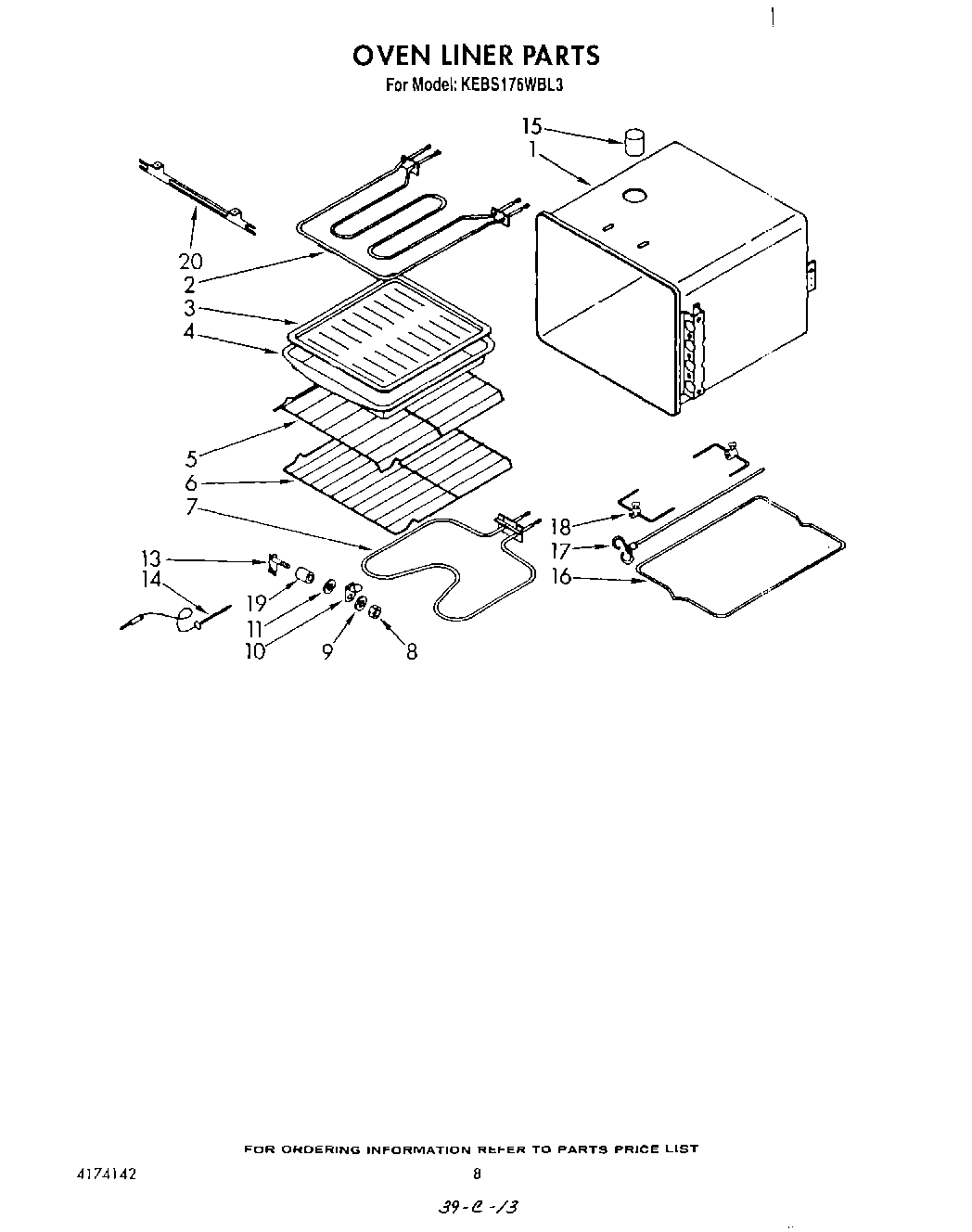
KEBS176WBL3 06 – OVEN LINER