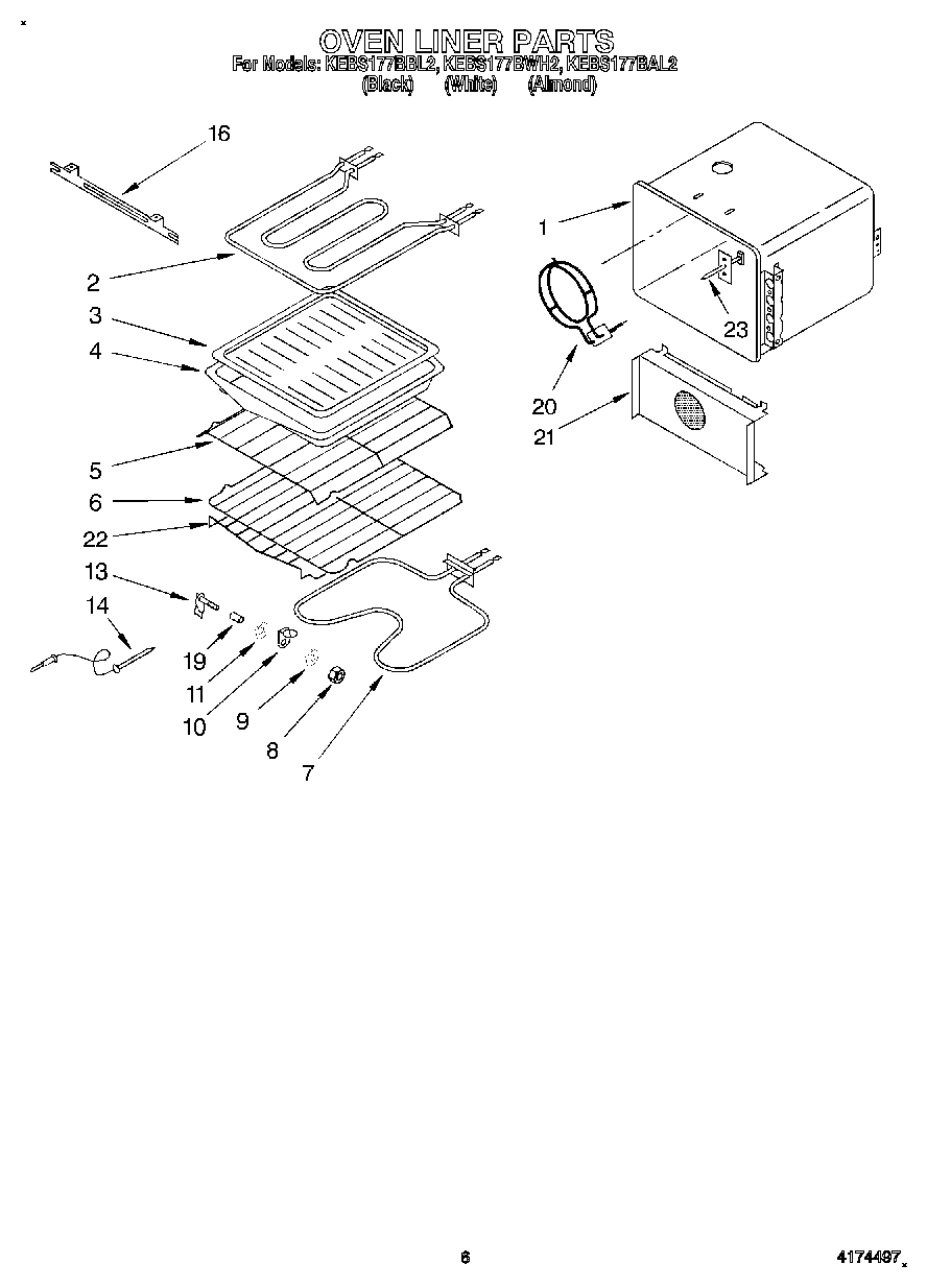
KEBS177BAL2 05 – OVEN LINER