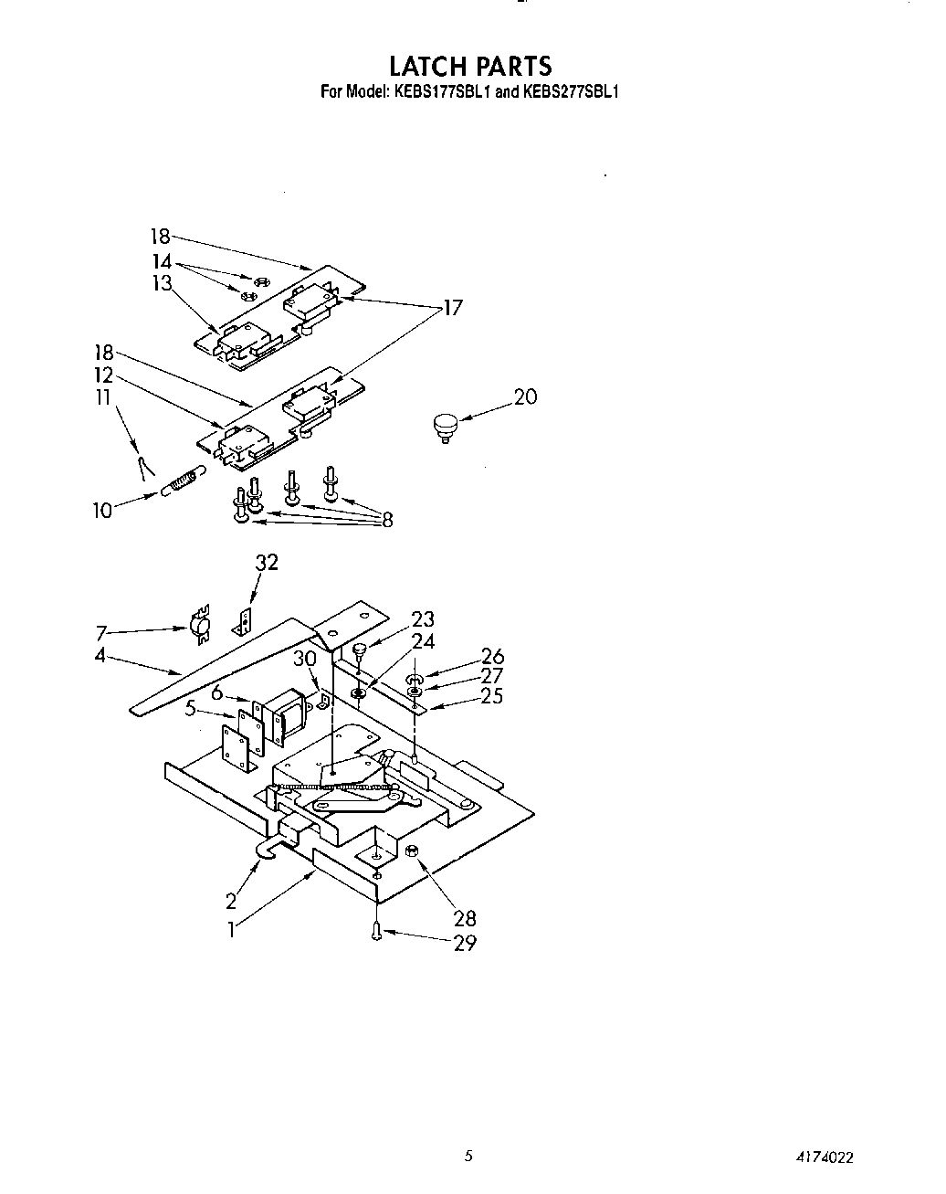
KEBS177SWH0 05 – LATCH