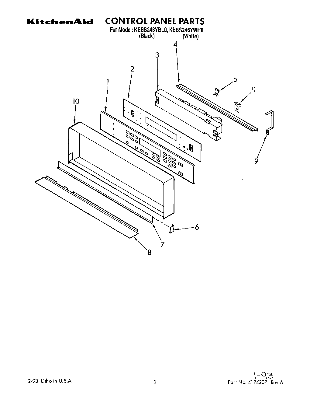
KEBS246YWH0 01 – CONTROL PANEL, LIT/OPTIONALadmin2025-04-26T10:28:01+00:00KEBS246YWH0 01 – CONTROL PANEL, LIT/OPTIONAL ProductsPositionProductRepair Parts ListInstallation InstructionsWPL LIT3182133Use & Care Guide1Membrane, Switch (Black Model)2Bracket, Mounting Switch Membrane3Microcomputer3Screw (3)4Retainer, Bracket5Clip, Retainer (3)6Trim, Door (2)7Door, Latch Handle (Screw (2))7Door, Latch Handle (Black)8WP90767 Whirlpool Screw8Trim, Panel9Screw (2)9Bracket (2)10Frame, Control Panel