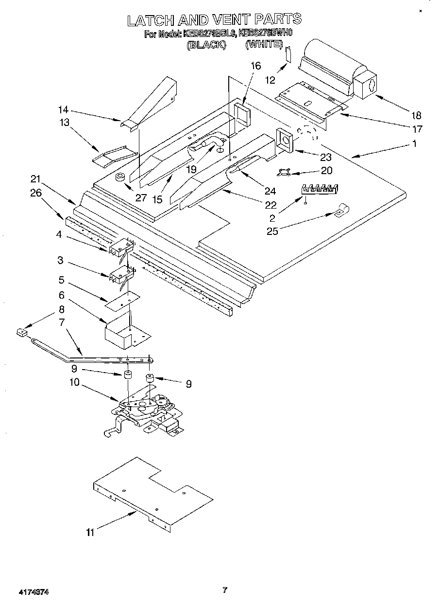
KEBS276BBL0 05 – LATCH AND VENTadmin2025-04-26T10:27:11+00:00KEBS276BBL0 05 – LATCH AND VENT
Products
| Position | Product |
|---|
| 1 | Module, Top |
| 2 | Screw (10-12 x .875) |
| 2 | WP8203546 Whirlpool Terminal Block |
| 3 | Switch, latch |
| 4 | Screw |
| 4 | Switch, Latch |
| 4 | Screw, |
| 5 | Insulator, Switch |
| 6 | Guard, Latch |
| 7 | Screw |
| 7 | Handle, Latch |
| 7 | Handle, Latch |
| 8 | Knob, Latch Handle |
| 8 | Screw |
| 9 | Spacer, Latch Handle |
| 9 | Screw (2) |
| 10 | Latch, Mechanism |
| 11 | Plate, Mounting |
| 12 | Baffle-Blower |
| 12 | Screw |
| 13 | Nozzle, Vent Bottom |
| 14 | Nozzle, Vent Top |
| 15 | Screw, 8-18 X 3/4 (4) |
| 15 | Screw |
| 15 | Box, Vent |
| 16 | End, Vent Box |
| 17 | Bracket, Mounting |
| 18 | Blower, fan |
| 19 | Tube, Vent |
| 20 | SPST Thermostat |
| 21 | Shield, Heat |
| 21 | WP3177991 Whirlpool Screw |
| 22 | Box, Vent |
| 23 | End, Box Vent |
| 24 | Tube, Vent Lower Oven |
| 25 | Clamp, Tube |
| 25 | Screw |
| 26 | Seal, foam |
| 27 | Bushing |