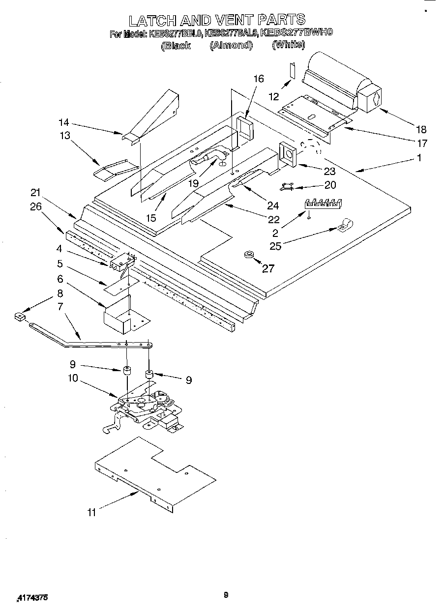
KEBS277BWH0 07 – LATCH AND VENT