KEBS277XBL0 08 – COMPONENT SHELF AND LATCHadmin2025-04-26T10:31:35+00:00KEBS277XBL0 08 – COMPONENT SHELF AND LATCH
Products
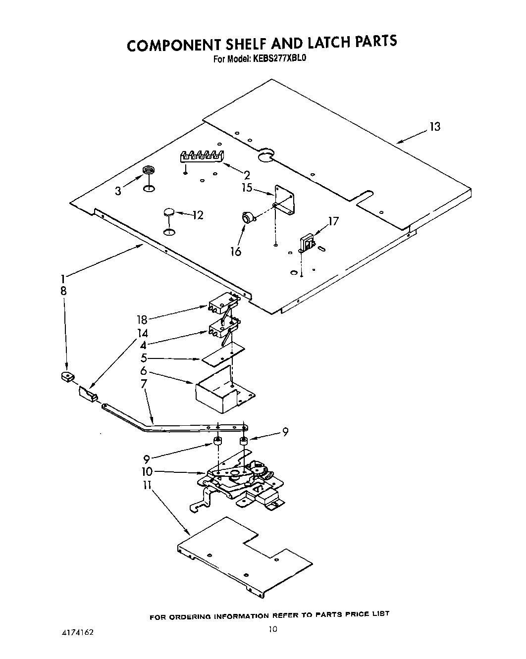
| Position | Product |
|---|
| 1 | Shelf, Component |
| 2 | WP8203546 Whirlpool Terminal Block |
| 3 | Bushing |
| 4 | Switch, Latch |
| 4 | Screw |
| 5 | Insulator, Switch |
| 6 | Guard, Latch |
| 7 | Handle, Latch |
| 7 | Handle, Latch |
| 7 | Handle, Latch (Screw (2)) |
| 7 | WP90767 Whirlpool Screw |
| 8 | Knob, Latch Handle |
| 9 | Spacer, Handle (2) |
| 9 | Screw (2) |
| 10 | Latch, Mechanism |
| 11 | Plate, Mounting |
| 12 | Plug, Button |
| 13 | Extension, Shelf |
| 14 | WP488234 Whirlpool Air Conditioner Screw |
| 14 | Support, Latch |
| 15 | Bracket, Buzzer |
| 15 | Screw |
| 16 | W10841059 Whirlpool Screw |
| 16 | Buzzer, Meat Probe |
| 16 | Screw, |
| 17 | Transformer |
| 17 | WP3177991 Whirlpool Screw |
| 18 | Screw (2) |
| 18 | Switch, Latch |