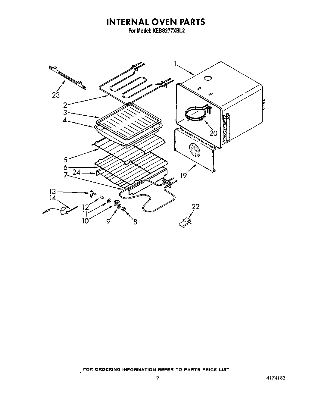
KEBS277XBL2 07 – INTERNAL OVEN