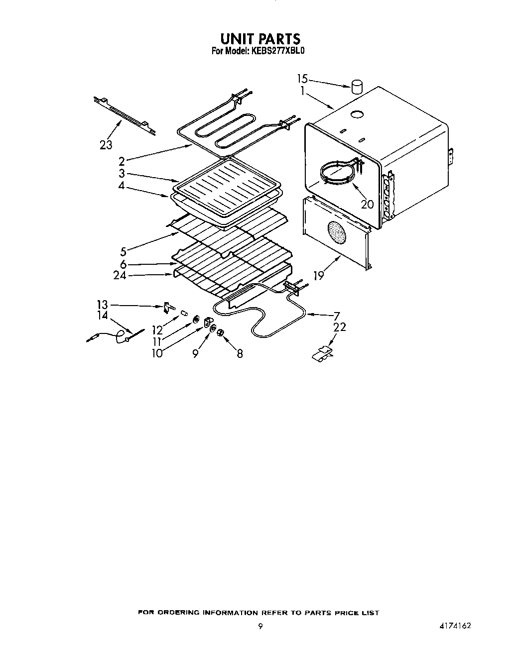
| 1 | Liner, Oven |
| 1 | Liner, Oven |
| 2 | Element, Broil |
| 3 | 4396923 Whirlpool Broil Pan Set Gray Porcelain |
| 5 | Rack, Offset |
| 6 | Rack, Oven |
| 7 | WP661416 Whirlpool Bake Element |
| 8 | Lock-Nut, Cvr.Jack |
| 9 | Gasket, Meat Probe |
| 10 | Jack Cover |
| 11 | Washer |
| 13 | Receptacle, Lighted Probe |
| 14 | Meat Probe |
| 15 | Vent Tube Extension |
| 19 | Cover, Fan |
| 20 | Element, Convection |
| 21 | Spacer - Tubing |
| 22 | Clip, Tube |
| 23 | Bracket, Element |
| 23 | Screw (3) |
| 24 | Rack, Roasting |