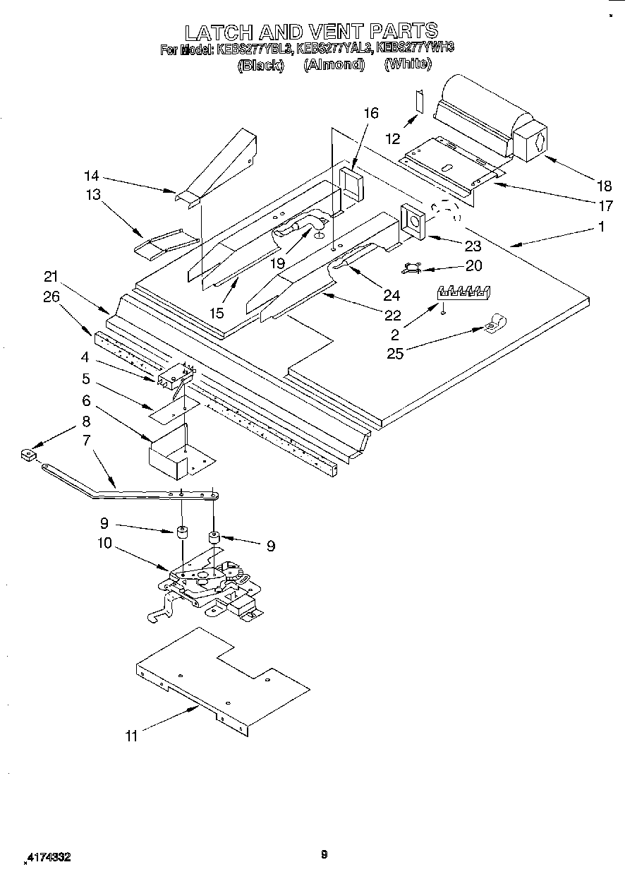
KEBS277YBL3 07 – LATCH AND VENT