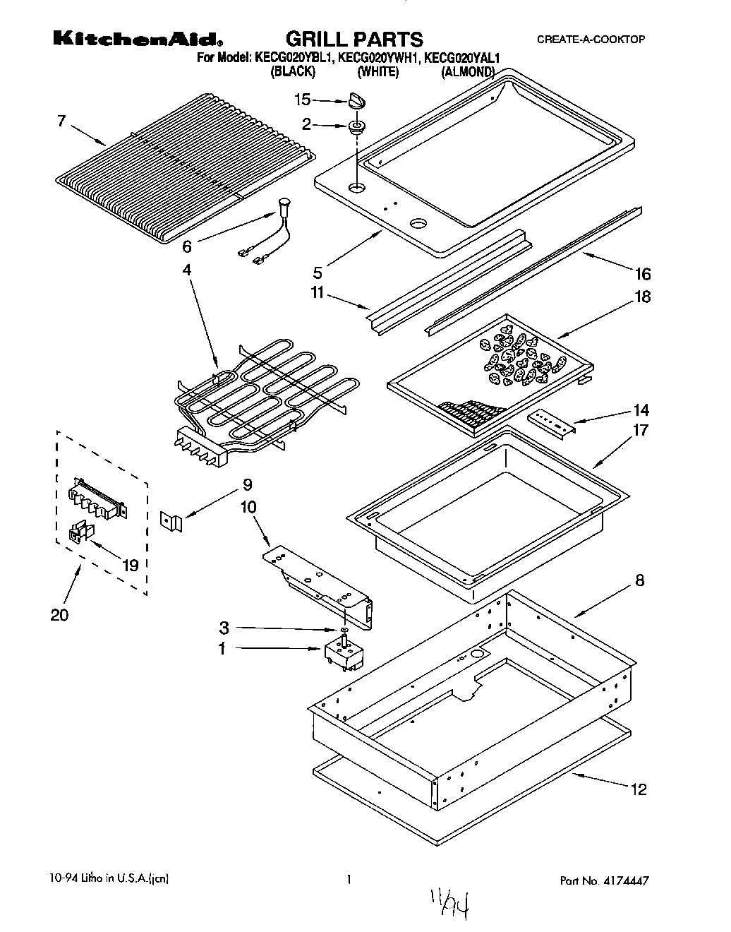
KECG020YWH1 01 – SECTION