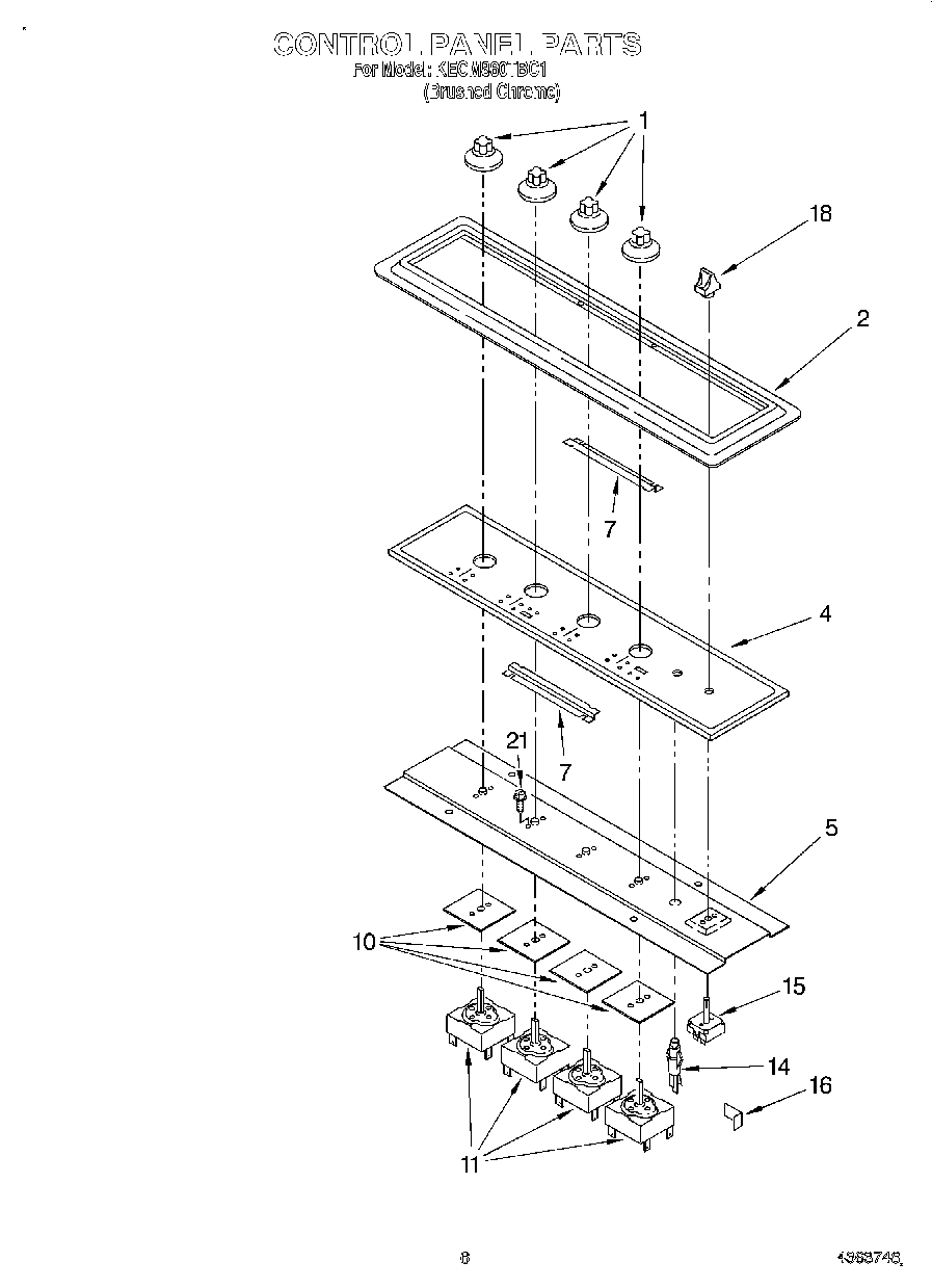
KECM860TBC1 04 – CONTROL PANELadmin2025-04-26T12:12:51+00:00KECM860TBC1 04 – CONTROL PANEL ProductsPositionProduct1Knob (4)2Trim, Control Panel4Glass, Control Panel5Bracket, Switch Mounting7Retainer, Glass (2)10Gasket, Switch (4)11W10900107 Whirlpool Oven Surface Element Switch14Light, Indicator15Switch, Fan (Manual)16Gasket, Switch18WP4168403 Whirlpool Knob21Screw (4) No.8-32 x 3/18