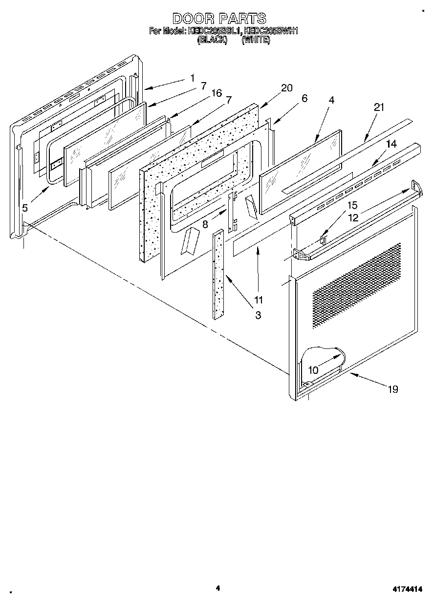
KEDC205BBL1 03 – DOOR