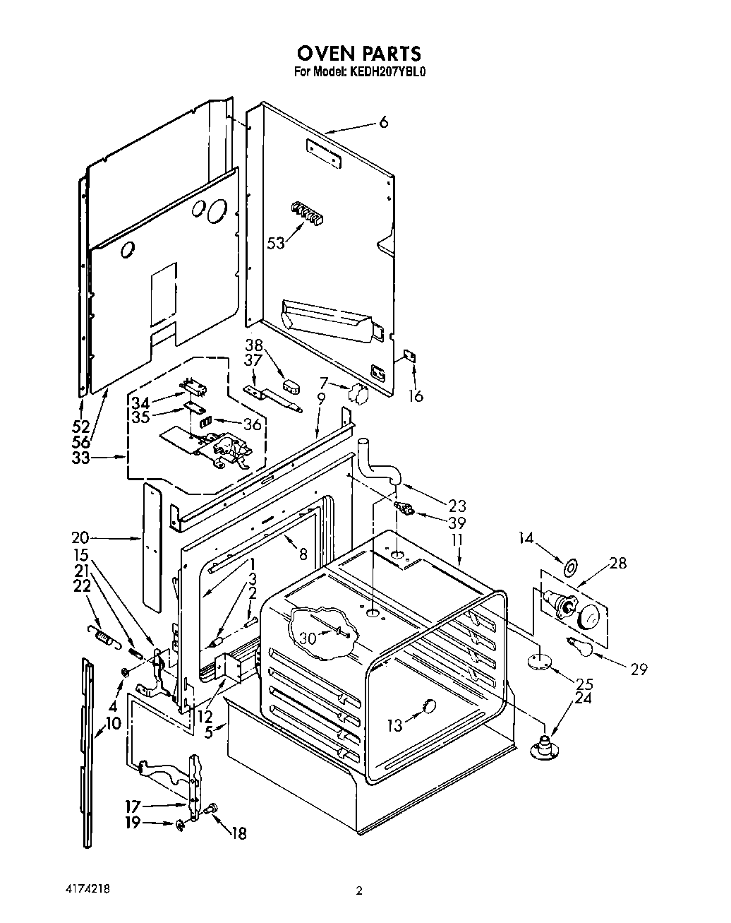
KEDH207YAL0 02 – OVEN