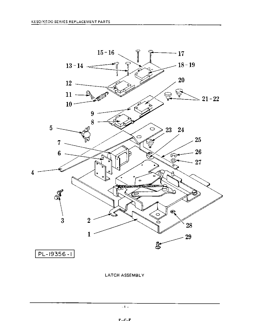
KEDO240SS 05 – LATCH ASSEMBLY