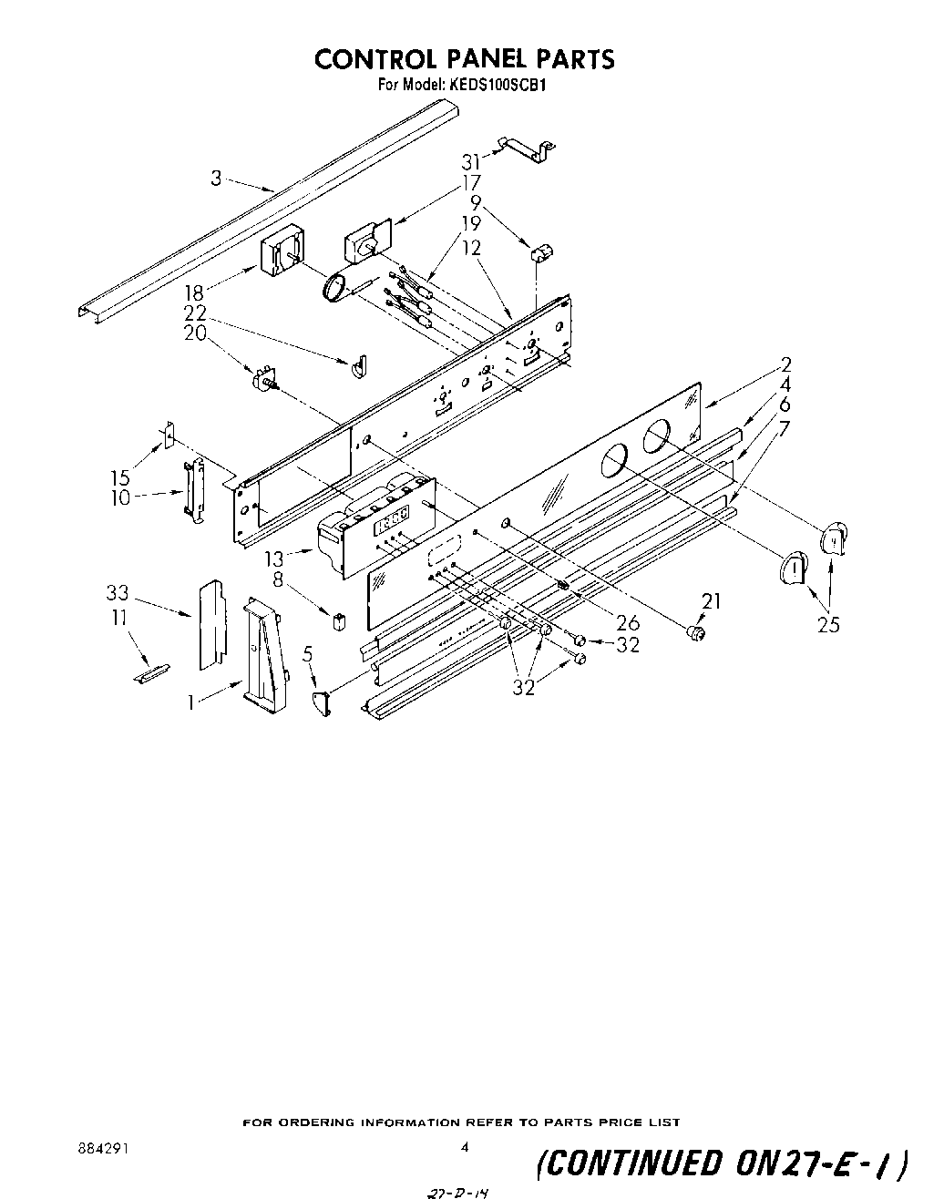
KEDS100SCB1 03 – CONTROL PANEL