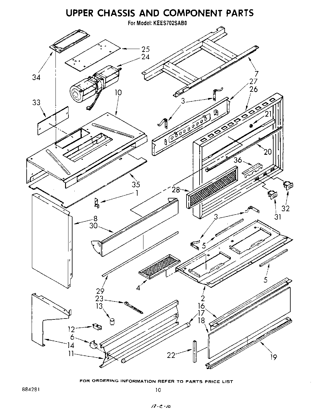
KEES702SWB0 06 – UPPER CHASSIS AND COMPONENTS