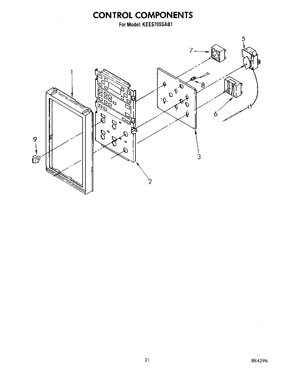
KEES705SWB1 12 – CONTROL COMPONENTSadmin2025-04-26T09:38:03+00:00KEES705SWB1 12 – CONTROL COMPONENTS ProductsPositionProduct1Frame, Control Panel2Control Module3Bracket, Control Mounting3Screw5Thermostat5WP313808 Whirlpool Screw6Switch, Selector7Screw, 8-32 x 3/16 (2)7switch, infinite (4)8Light, Indicator (4)9Knob, Control (3)