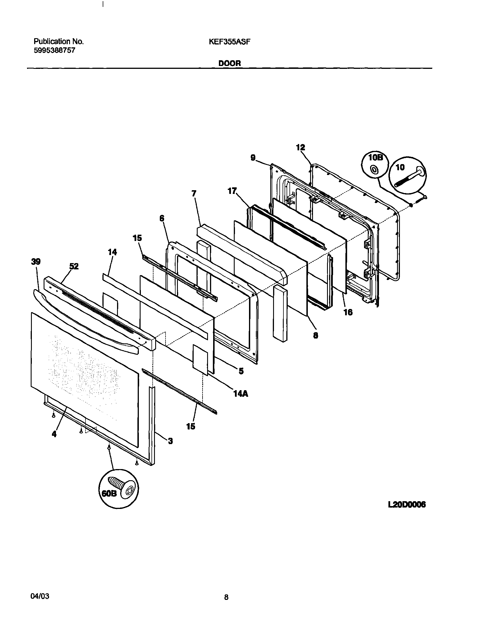
KEF355ASF 09 – DOOR