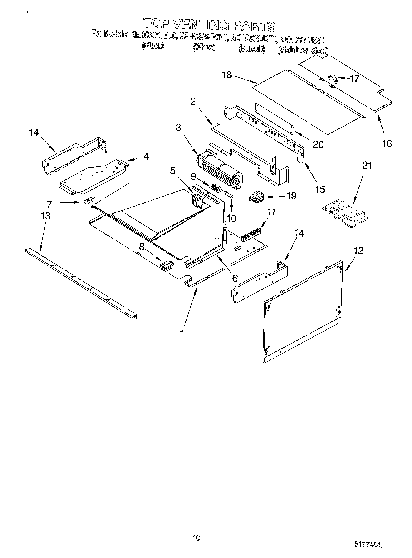
KEHC309JBL0 08 – TOP VENTINGadmin2025-04-26T09:40:05+00:00KEHC309JBL0 08 – TOP VENTING ProductsPositionProduct1Cover, Top2Baffle, Blower3Blower4Plate, Mounting5WP9760588 Whirlpool Transformer6Exhaust Duct7Bracket, Duct8WP112432 Whirlpool Nut Assembly8Grommet9WP4449154 Whirlpool Screw94454949 Whirlpool Oven Fuse Block10WPW10017410 Whirlpool Fuse11WP8203546 Whirlpool Terminal Block11WP3400016 Whirlpool Screw Assembly12Side, Combo13WP4450038 Whirlpool Screw13Vent-Cntrl Panel14W10790240 Whirlpool Side Assembly Complete14W10755214 Whirlpool Side Complete15Back, Control16WP4450551 Whirlpool Top Cabinet174448664 Whirlpool Oven Mounting Bracket18WP4452367 Whirlpool Top Cover19Transformer, Control Panel20Plate, Cover20WP4449809 Whirlpool Screw21Suppressor