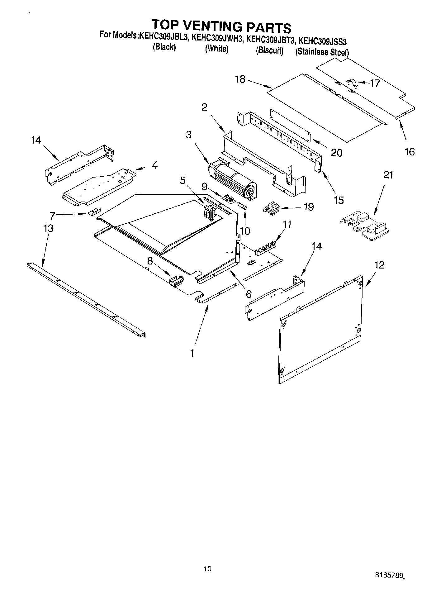
KEHC309JBL3 08 – TOP VENTING