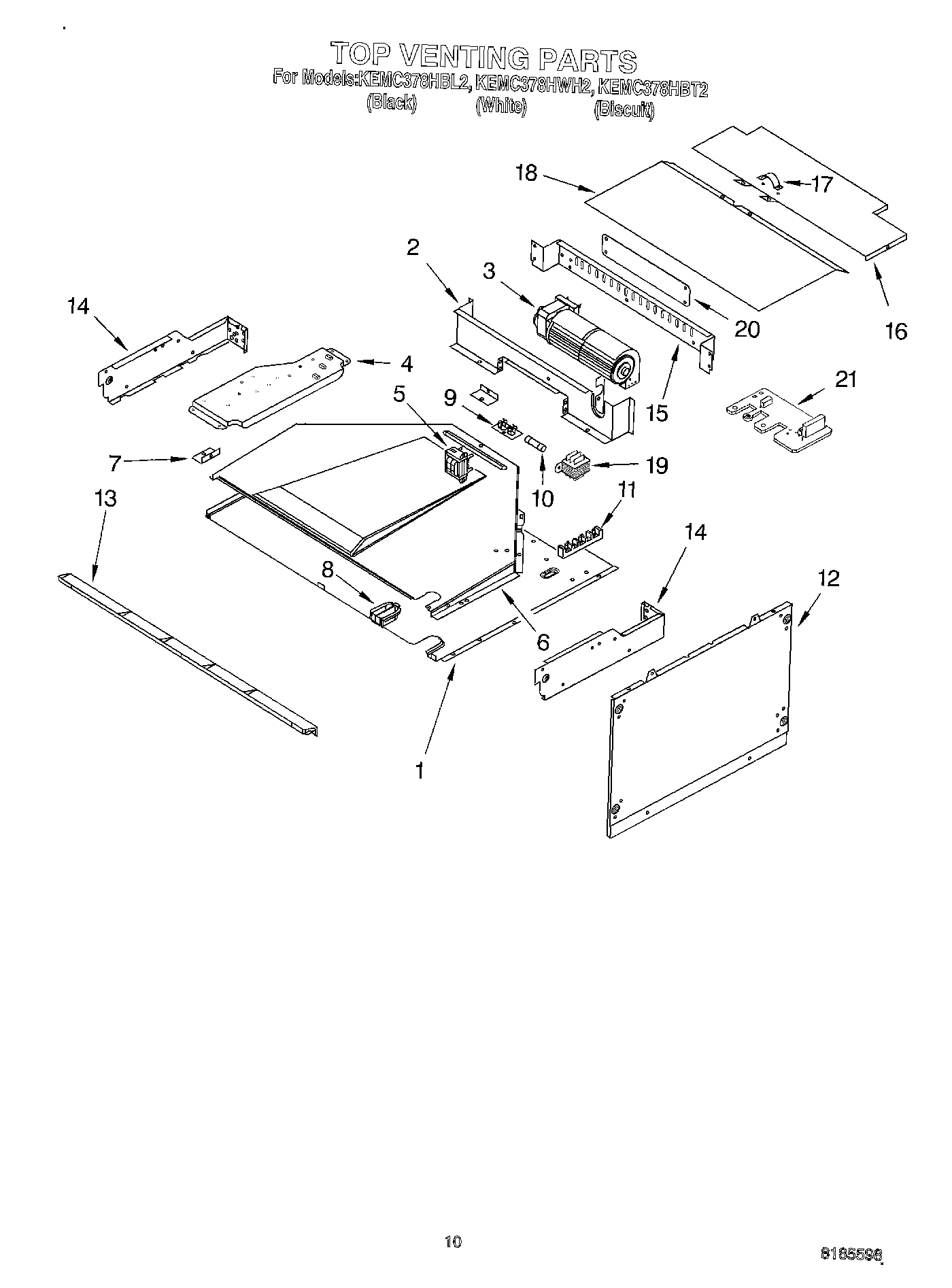
KEMC378HWH2 08 – TOP VENTING