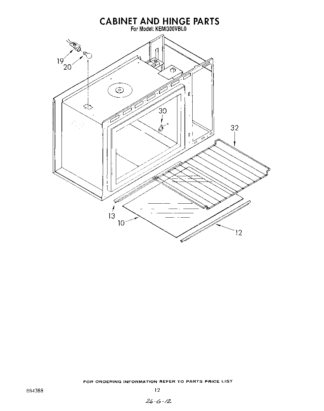
KEMI300VBL0 07 – CABINET AND HINGEadmin2025-04-26T10:26:12+00:00KEMI300VBL0 07 – CABINET AND HINGE ProductsPositionProduct10Shelf, Microwave (Install with Silastic 482338)12Trim, Shelf (Front)13Trim, Shelf (Rear)19Snap-In Socket20WP3395618 Whirlpool Light Bulb30Screw, 10A x 230WP3149478 Whirlpool Microwave Support32rack, wire