KEMS306XAL0 08 – CONTROL PANELadmin2025-04-26T10:25:38+00:00KEMS306XAL0 08 – CONTROL PANEL
Products
| Position | Product |
|---|
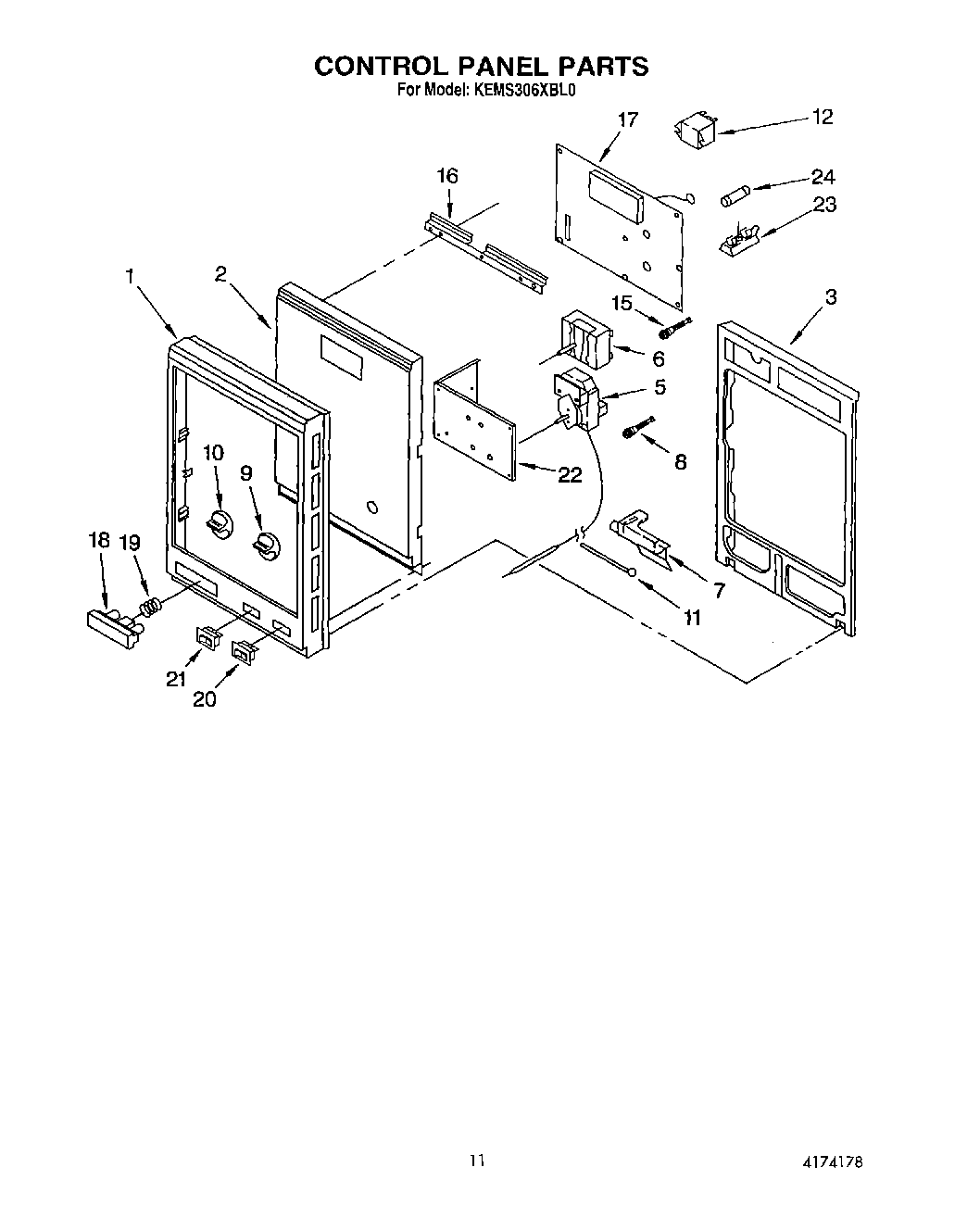
| 1 | Screw (2) |
| 1 | Frame, Control Panel (Black) |
| 1 | Frame, Control Panel (White) |
| 1 | Frame, Control Panel (Almond) |
| 2 | Screw |
| 2 | Switch Membrane (Control Module) (Black) |
| 2 | Switch Membrane (Control Module) (White) |
| 2 | Switch Membrane (Control Module) (Almond) |
| 3 | Bracket, Control (Mounting) |
| 5 | WP313808 Whirlpool Screw |
| 5 | Thermostat |
| 6 | Switch, Selector |
| 6 | Screw, 8-32 x 3/16 (2) |
| 7 | Release Lever |
| 8 | Light, Indicator (4) |
| 9 | Knob, Control |
| 10 | Knob, Control |
| 11 | Mounting Pin |
| 12 | Relay, Power |
| 12 | Screw |
| 15 | Light, Indicator |
| 15 | Screw |
| 16 | Screw (3) |
| 16 | Bracket, Mounting |
| 17 | Screw |
| 17 | Microcomputer |
| 18 | Push Button (Black) |
| 18 | Push Button (White) |
| 18 | Push Button (Almond) |
| 19 | Spring, Button |
| 20 | WP4314961 Whirlpool Lite Switch |
| 22 | Bracket, Control Mounting |
| 23 | 4454949 Whirlpool Oven Fuse Block |
| 23 | WP488729 Whirlpool Refrigerator Door Screw |
| 24 | WPW10017410 Whirlpool Fuse |