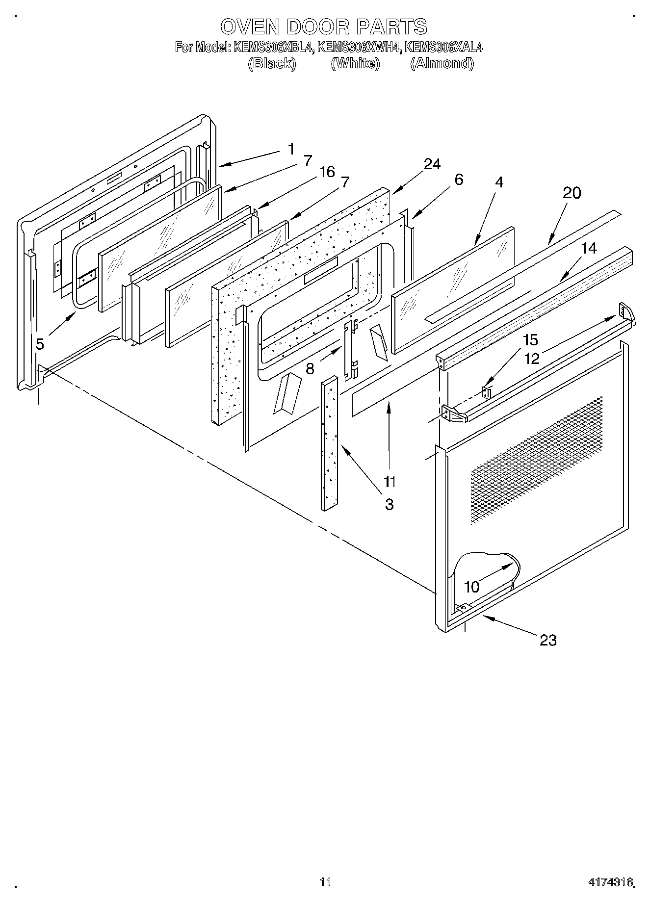
KEMS306XAL4 08 – OVEN DOOR