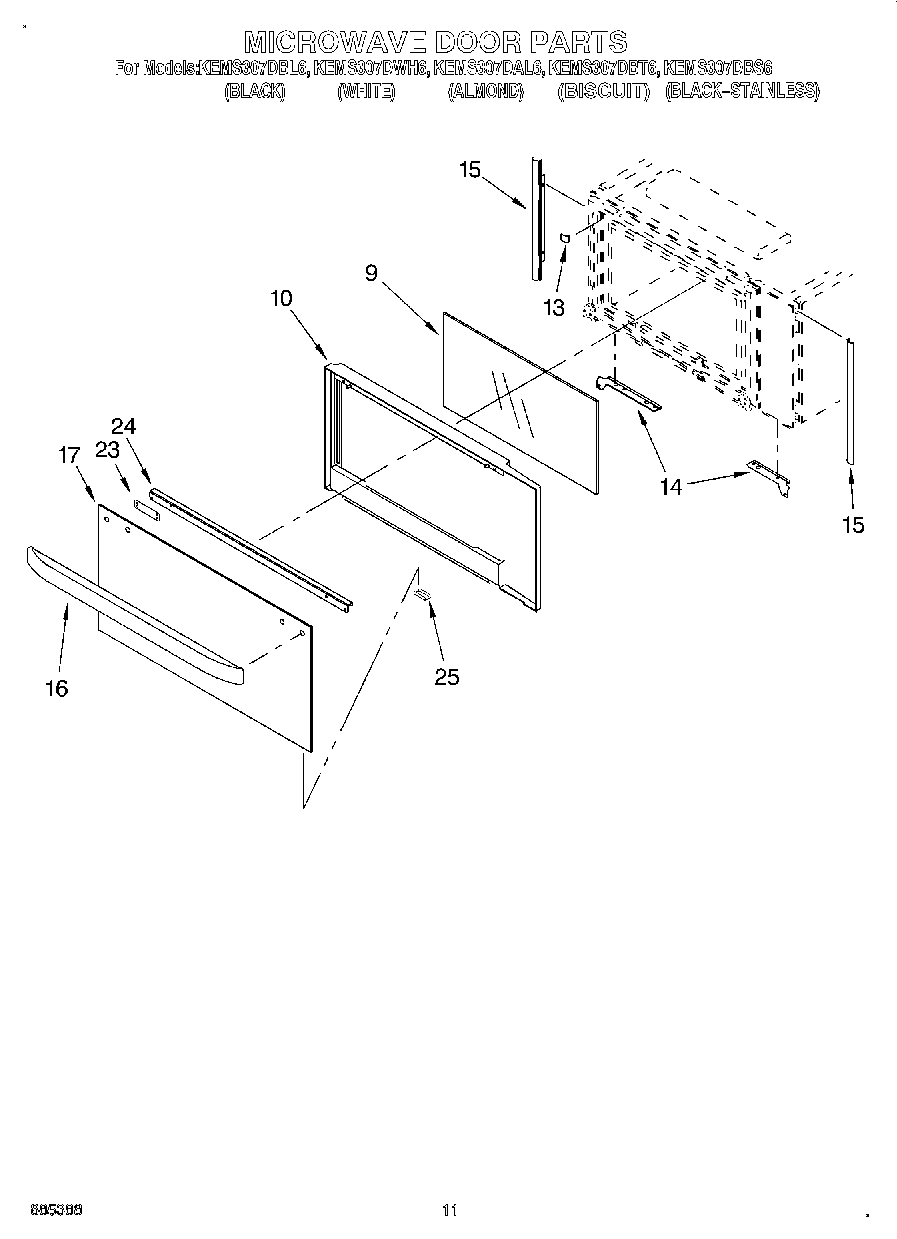
KEMS307DBT6 09 – MICROWAVE DOOR, OPTIONAL

KEMS307DBT6 09 – MICROWAVE DOOR, OPTIONAL

Products

PositionProduct
9Glass, Middle
10WP4450038 Whirlpool Screw
10WP8303556 Whirlpool Microwave Door Frame
13Tape, Foam
14Bracket, Mounting (Right Side)
14Bracket, Mounting (Left Side)
15Filler, Side
15Filler, Side (Left Side)
16Door Handle (Black Model)
16Handle, Door (Biscuit)
16Handle, Door (Almond Model)
16Handle, Door (White Model)
17Glass, Outer (Biscuit)
17Glass, Outer (Black Model)
17Glass, Outer (White Model)
17Glass, Outer (Black-Stainless)
17Glass, Outer (Almond Model)
23Spacer (Stainless)
24Bracket, Handle
24Screw
25RETAINER,GLASS CLIP (BISCUIT)
25Wire (14 Ga. 200 c Brown)
251
25WPL 591014
254450950 Whirlpool Oven Conduit
25Clip, Retainer (Black Model)
25Wire, 25`` Roll (White 14 GA.)
25Clip, Retainer (White Model)
25WPL 4454929
25Filler Kit (Al)
25Filler Kit (Wh)
25261900 Whirlpool Microwave Spray
25Filler Kit (Bl)
25Retainer, Clip (Almond Model)
2518 Ga. 80~c Rating (Red)
25Wire (12 Ga. 150 c Black)
25WP482338 Whirlpool Refrigerator Adhesive
2572032 Whirlpool Touch Up Paint Black
25285006 Whirlpool Spray
25WPW10339879 Whirlpool Wire Tie
254450800 Whirlpool Oven Screw
25Wire, 25` Roll (Red 14 Ga.)
25Wire, 25` Roll (Black 14 Ga.)
254392901 Whirlpool Biscuit Spray Paint
254392899 Whirlpool Biscuit Touch-Up Paint
25WP4449809 Whirlpool Screw
2572017 Whirlpool Appliance Touch-Up Paint White
25814381 Whirlpool Pin
25WP4448950 Whirlpool Screw
25Ground (M/W)
25Wire (14 Ga. 150 c Yellow)
25Wire (14 Ga. 150 c Orange)
25Wire (14 Ga. 150 c Green)
25Wire (14 Ga. 150 c Brown)
25Wire (14 Ga. 150 c Blue)
25WP261869 Whirlpool Microwave Paint
25242831 Whirlpool Oven Wire
25Spacer, Harness
2516515 Whirlpool Clip
25Transformer
25WPL 4452239
25350930 Whirlpool White Spray Paint