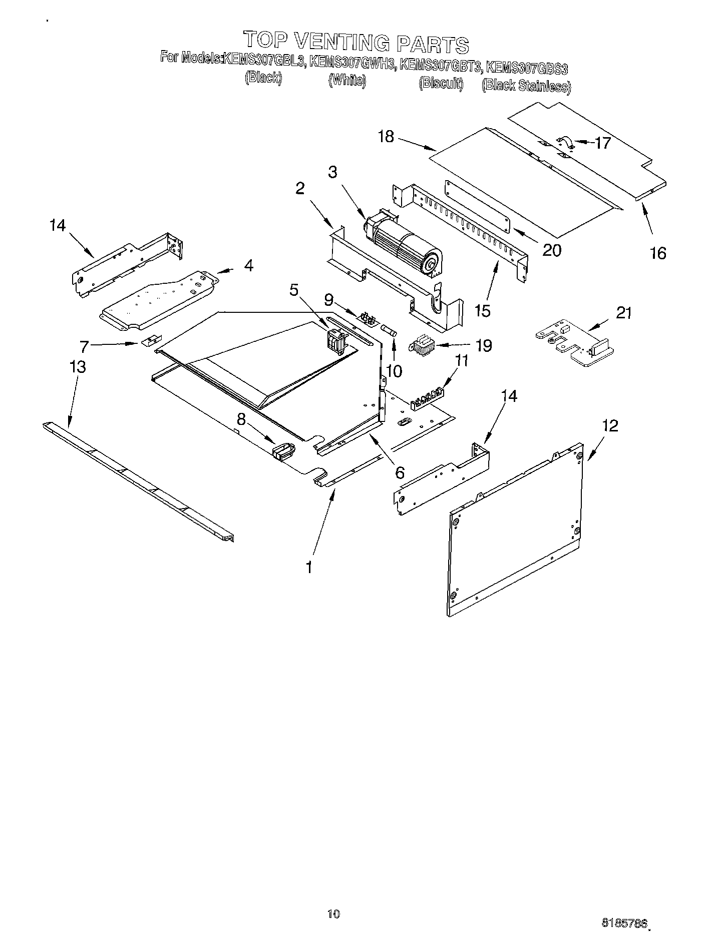
KEMS307GBS3 08 – TOP VENTINGadmin2025-04-26T10:28:31+00:00KEMS307GBS3 08 – TOP VENTING ProductsPositionProduct1Cover, Top2489392 Whirlpool Refrigerator Screw2Baffle, Blower3Blower4Plate, Mounting5WP9760588 Whirlpool Transformer6Exhaust Duct7Bracket, Duct8WP112432 Whirlpool Nut Assembly8Grommet9WP4449154 Whirlpool Screw94454949 Whirlpool Oven Fuse Block10WPW10017410 Whirlpool Fuse11WP8203546 Whirlpool Terminal Block11Screw12Side, Combo13WP4450038 Whirlpool Screw13Vent, (Control Panel)14W10790240 Whirlpool Side Assembly Complete14W10755214 Whirlpool Side Complete15Back, Control16WP4450551 Whirlpool Top Cabinet174448664 Whirlpool Oven Mounting Bracket18WP4452367 Whirlpool Top Cover19Transformer, Control Panel20Plate, Cover20WP4449809 Whirlpool Screw21Suppressor