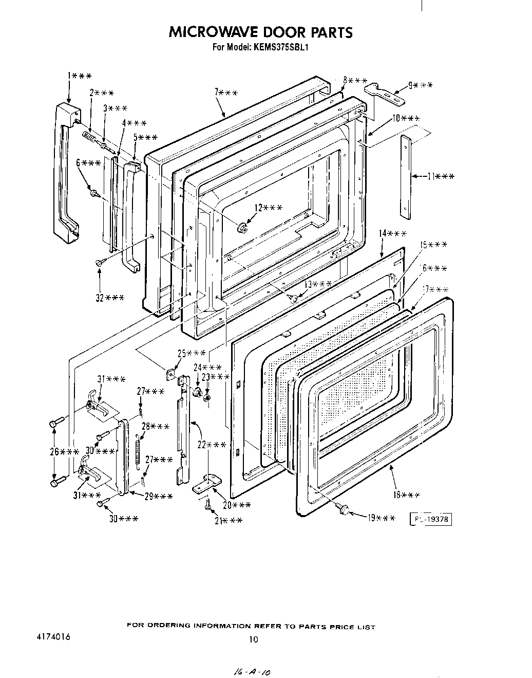
KEMS375SBL1 07 – MICROWAVE DOORadmin2025-04-26T10:32:53+00:00KEMS375SBL1 07 – MICROWAVE DOOR
Products
| Position | Product |
|---|
| 1 | Door Handle With Plastic Stripexxx |
| 2 | Spring, Door Handlexxx |
| 3 | Shaft, Door Handlexxx |
| 4 | Metal, Reinforcementxxx |
| 5 | Handle Gripxxx |
| 6 | Screw, Pan Hd. Tapping, 3 X 6mm, Z1-1 |
| 7 | Door Sash With Metal Trimmingxxx |
| 8 | Plastic Bearingxxx |
| 9 | Upper Hinge, Doorxxx |
| 10 | Door Main Frame |
| 11 | Ferrite Rubberxxx |
| 12 | Hex Nut With Washer, 4mm, Z1-1 |
| 13 | Screw, Truss Head Tapping, 3 X 6mm Z1-1xxx |
| 14 | Choke Dielectric With Ferrite Rubber |
| 15 | Perforated Screenxxx |
| 16 | Glass Panelxxx |
| 17 | Door Sealxxx |
| 18 | Retaining Frame, Perforated Screenxxx |
| 19 | Sink Screw, Oval Hd. Machine With Washer, 4 X 6mm, Uxxx |
| 20 | Lower Hinge, Door |
| 21 | Screw, Truss Hd. Machine, 4 X 10mm, Z1xxx |
| 22 | Latch Lever |
| 23 | Hex Nut, 3mm, Z1xxx |
| 24 | Hex Nut With Washer, 3mm, Z1-1 |
| 25 | Rubber Packing, Handle Shaftxxx |
| 26 | Shaft, Door Latch |
| 27 | Stopper, Latch Lever Shaftxxx |
| 28 | Spring, Door Latch |
| 29 | Latch Leverxxx |
| 30 | Shaft, Latch Lever |
| 31 | Door Latchxxx |
| 32 | Screw, Truss Hd. Tapping, 4 X 8mm, Z1-2 |
| 32 | Screwdriver For Illus 19 |