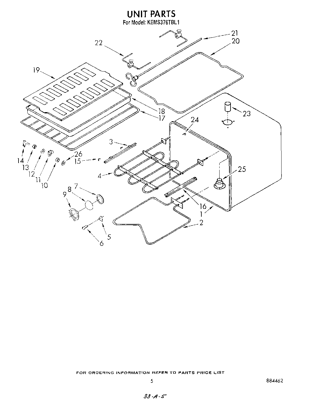
KEMS376TBL1 05 – UNIT