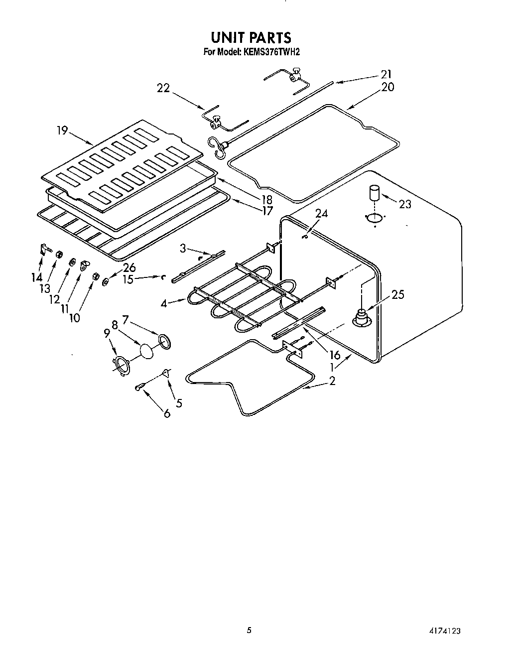
| 1 | liner, oven |
| 2 | WP3177420 Whirlpool Bake Element |
| 4 | Broiler Element |
| 5 | Plate, Cover |
| 6 | Shoulder Screw |
| 7 | Light Lens Gasket |
| 8 | Light Lens |
| 9 | Light Lens Retainer |
| 9 | Screw |
| 10 | Lock-Nut, Cvr.Jack |
| 11 | Jack Cover |
| 12 | Washer |
| 13 | Nut, Hex Jam (2) |
| 14 | Meat Probe Jack Model KEBI145SBL1 |
| 15 | thermostat bulb clip |
| 16 | Broiler Element Support-Right |
| 17 | Rack, Oven |
| 19 | 4396923 Whirlpool Broil Pan Set Gray Porcelain |
| 20 | Rotisserie Rack |
| 21 | Rotisserie Spear |
| 22 | Rotisserie Skewer |
| 23 | Vent Tube Extension |
| 24 | Cover, Cap Tube |
| 25 | Smoke Eliminator (Upper Oven) |
| 25 | Screw, (2) |
| 26 | Meat Probe |
| 26 | Gasket, Meat Probe |