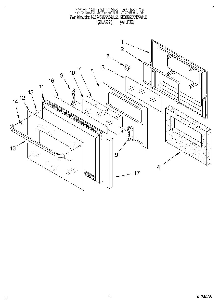
KEMS377BWH2 03 – OVEN DOOR