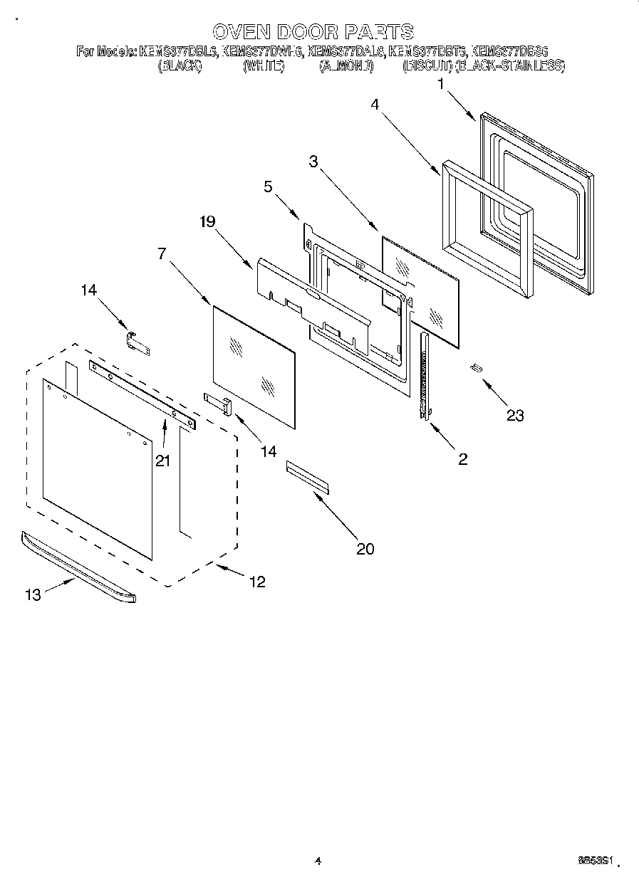
KEMS377DBL6 03 – OVEN DOOR