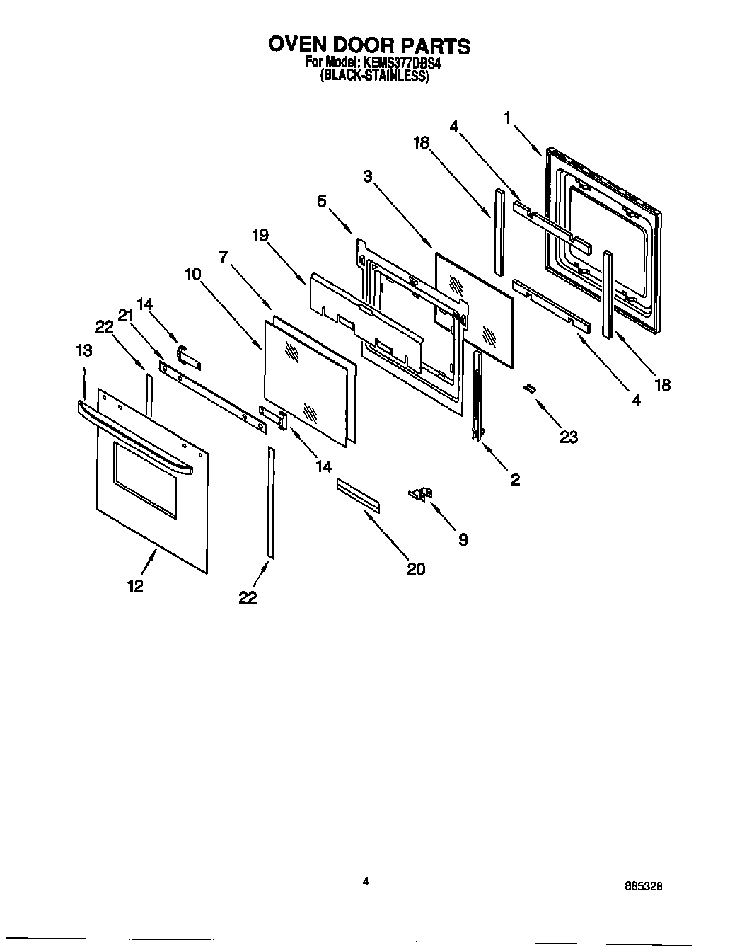
KEMS377DBS4 03 – OVEN DOOR