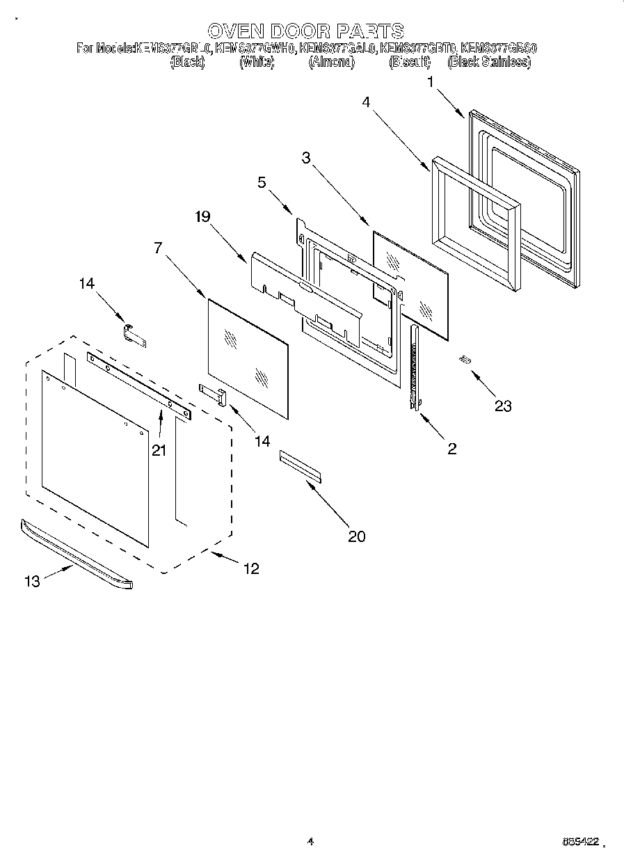
KEMS377GAL0 03 – OVEN DOORadmin2025-04-26T10:31:54+00:00KEMS377GAL0 03 – OVEN DOOR
Products
| Position | Product |
|---|
| 1 | Door Liner |
| 2 | WP4455525 Whirlpool Oven Door Hinge |
| 2 | WP4455523 Whirlpool Oven Door Hinge |
| 2 | WP4449743 Whirlpool Screw |
| 3 | WP4449253 Whirlpool Glass Window |
| 4 | Insulation, Sides |
| 5 | Retainer, Glass |
| 7 | WP4449257 Whirlpool Door Glass |
| 12 | Door Glass, Assy (White Model) |
| 12 | Door Glass, Assy (Biscuit) |
| 12 | Door Glass, Assy (Almond) |
| 12 | Door Glass, Assy (Black-Stainless) |
| 12 | Door Glass, Assy (Black Model) |
| 13 | Door Handle (Biscuit) |
| 13 | Door Handle (Almond Model) |
| 13 | Handle (White Model) |
| 13 | Handle (Black Model) |
| 14 | Bracket, Handle |
| 14 | Screw |
| 19 | Shield, Heat |
| 20 | WP4449809 Whirlpool Screw |
| 20 | Retainer, Glass |
| 21 | Seal, Top |
| 23 | RETAINER,GLASS CLIP (BISCUIT) |
| 23 | Clip, Retainer (White Model) |
| 23 | Clip, Retainer (Black Model) |
| 23 | Retainer, Clip (Almond Model) |