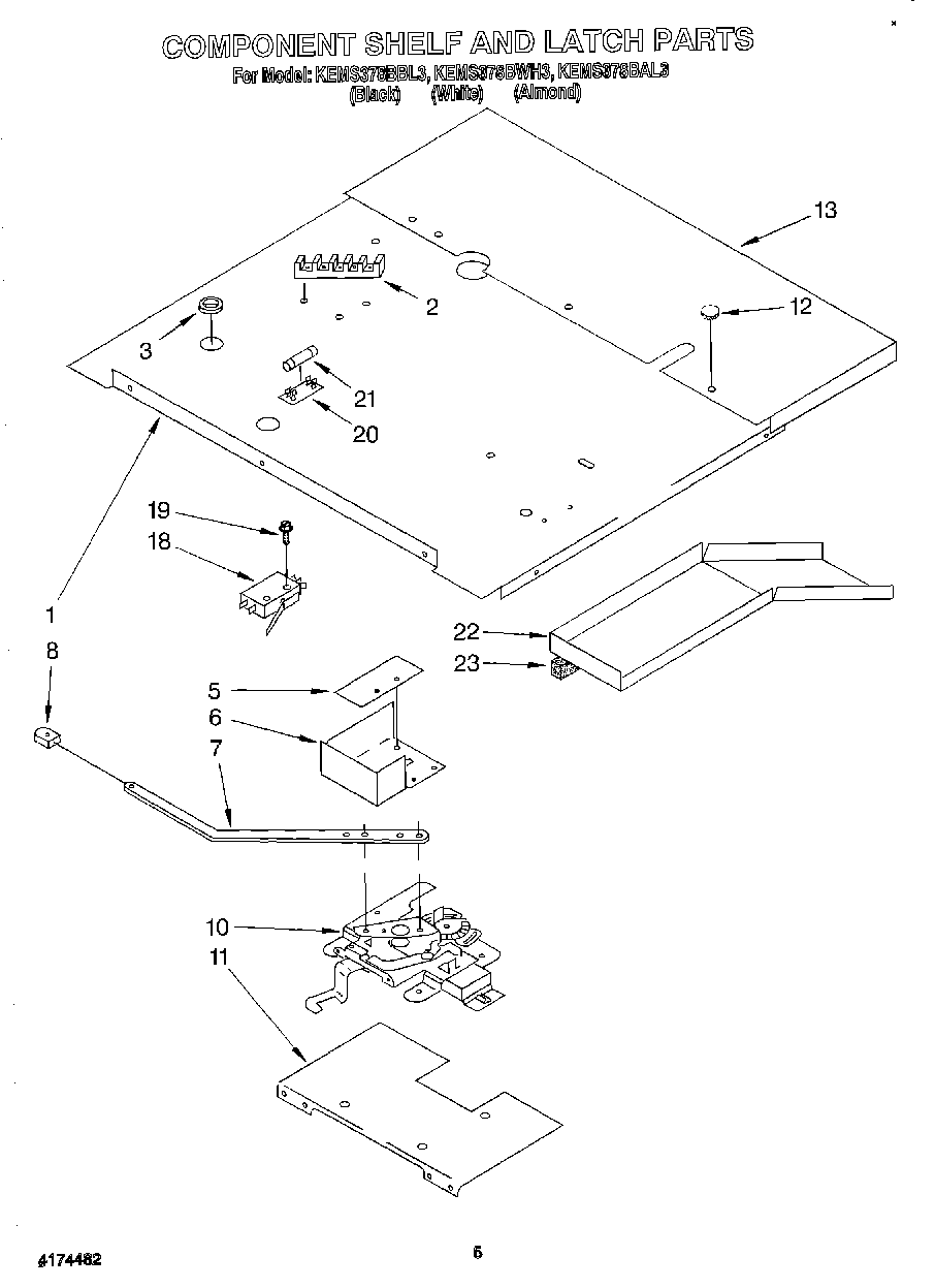
KEMS378BAL3 05 – COMPONENT SHELF AND LATCHadmin2025-04-26T10:30:40+00:00KEMS378BAL3 05 – COMPONENT SHELF AND LATCH
Products
| Position | Product |
|---|
| 1 | Shelf, Component |
| 2 | Screw (10-12 x .875) |
| 2 | WP8203546 Whirlpool Terminal Block |
| 3 | Bushing, Electric |
| 5 | Insulator, Switch |
| 6 | Guard, Latch |
| 6 | Screw, |
| 7 | Handle, Latch |
| 7 | Screw |
| 8 | Screw |
| 8 | Knob, Latch Handle |
| 10 | Latch, Mechanism |
| 11 | Plate, Mounting |
| 12 | Plug, Button |
| 13 | Extension, Shelf |
| 13 | Screw |
| 13 | WP3177991 Whirlpool Screw |
| 18 | Switch, latch |
| 19 | Screw |
| 20 | 4454949 Whirlpool Oven Fuse Block |
| 21 | WPW10017410 Whirlpool Fuse |
| 21 | WP90767 Whirlpool Screw |
| 22 | Baffle, Module |
| 23 | Seal, Foam |
| 23 | Seal, Foam |