KEMS378GSS1 08 – TOP VENTINGadmin2025-04-26T10:31:30+00:00KEMS378GSS1 08 – TOP VENTING
Products
| Position | Product |
|---|
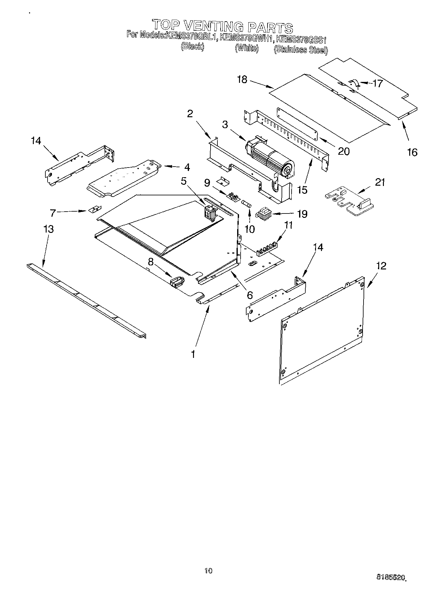
| 1 | Cover, Top |
| 2 | Baffle, Blower |
| 3 | Blower |
| 4 | Plate, Mounting |
| 5 | WP9760588 Whirlpool Transformer |
| 6 | Exhaust Duct |
| 7 | Bracket, Duct |
| 8 | WP112432 Whirlpool Nut Assembly |
| 8 | Grommet |
| 9 | 4454949 Whirlpool Oven Fuse Block |
| 9 | WP4449154 Whirlpool Screw |
| 10 | WPW10017410 Whirlpool Fuse |
| 11 | WP8203546 Whirlpool Terminal Block |
| 11 | WP3400016 Whirlpool Screw Assembly |
| 12 | Side, Combo |
| 13 | Vent, Control Panel (Stainless Steel Model) |
| 13 | WP4450038 Whirlpool Screw |
| 13 | Vent, Control Panel (Black & White Model) |
| 14 | W10755214 Whirlpool Side Complete |
| 14 | W10790240 Whirlpool Side Assembly Complete |
| 15 | Back, Control |
| 16 | Cover, Top Rear |
| 17 | 4448664 Whirlpool Oven Mounting Bracket |
| 18 | Cover, Top Front |
| 19 | Transformer, Control Panel |
| 20 | Plate, Cover |
| 20 | WP4449809 Whirlpool Screw |
| 21 | Suppressor |