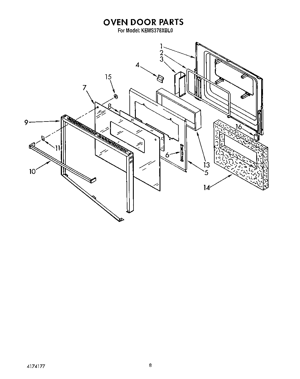
KEMS378XBL0 05 – OVEN DOOR