KEMS378YAL0 07 – INTERNAL OVENadmin2025-04-26T09:54:46+00:00KEMS378YAL0 07 – INTERNAL OVEN
Products
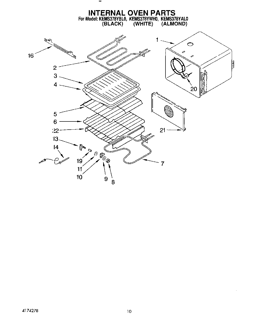
| Position | Product |
|---|
| 1 | Liner, Oven |
| 2 | Element, Broil |
| 3 | 4396923 Whirlpool Broil Pan Set Gray Porcelain |
| 5 | Rack, Offset |
| 6 | Rack, Oven |
| 7 | Screw (3) |
| 7 | WP661416 Whirlpool Bake Element |
| 8 | Lock-Nut, Cvr.Jack |
| 9 | Gasket, Meat Probe |
| 10 | Jack Cover |
| 11 | Washer |
| 13 | Receptacle, Probe |
| 14 | Probe |
| 16 | Bracket, Element |
| 19 | Spacer - Tubing |
| 20 | Element, Convection |
| 21 | Screw (3) |
| 21 | Cover, Fan |
| 22 | Rack, Roasting |